首页
专利数据库
产业人才
行业动态
产业政策法规
维权援助
个人中心
登录/注册
详情
文本
图像
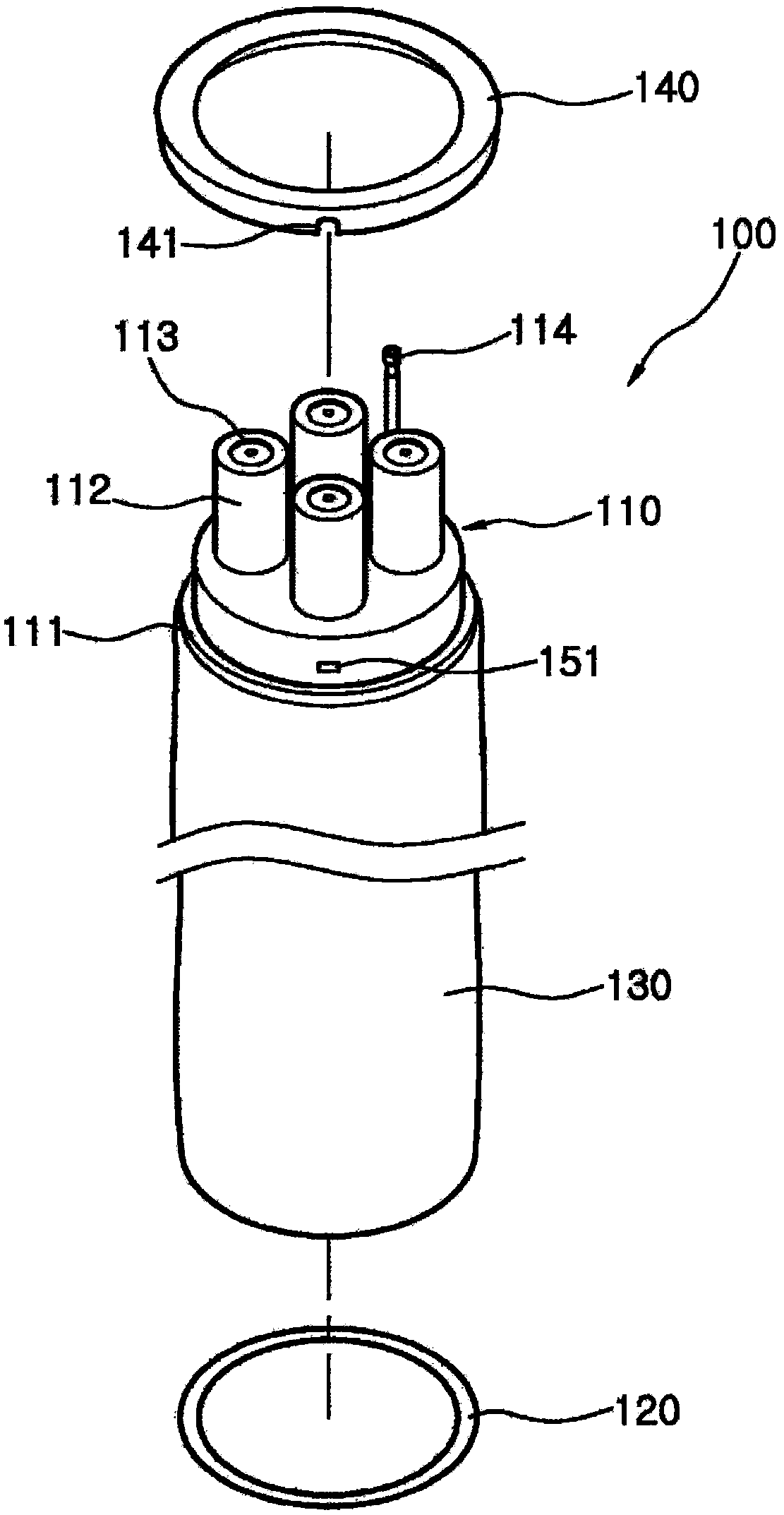
标题:
手术工具导引器及用于手术工具导引器的保护盖
授权日:
1900-01-01
公开(公告)号:
CN103961143A
申请日:
2013-01-25
公开(公告)日:
2014-08-06
当前申请(专利权)人:
徐午男
发明人:
徐午男
简单同族:
CN103961143A
简单同族成员数量:
1
简单同族被引用专利总数:
0
诉讼案件数:
0
法律状态/事件:
撤回