首页
专利数据库
产业人才
行业动态
产业政策法规
维权援助
个人中心
登录/注册
详情
文本
图像
标题:
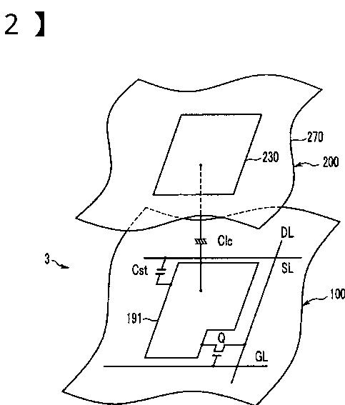
液晶表示装置
授权日:
2012-09-07
公开(公告)号:
JP5078483B2
申请日:
2007-07-24
公开(公告)日:
2012-11-21
当前申请(专利权)人:
三星電子株式会社
发明人:
金 東 奎
简单同族:
CN101135825A | JP2008033322A | JP5078483B2 | KR101261607B1 | KR1020080009897A | US20080024418A1 | US8786536
简单同族成员数量:
7
简单同族被引用专利总数:
68
诉讼案件数:
0
法律状态/事件:
授权 | 权利转移