首页
专利数据库
产业人才
行业动态
产业政策法规
维权援助
个人中心
登录/注册
详情
文本
图像
标题:
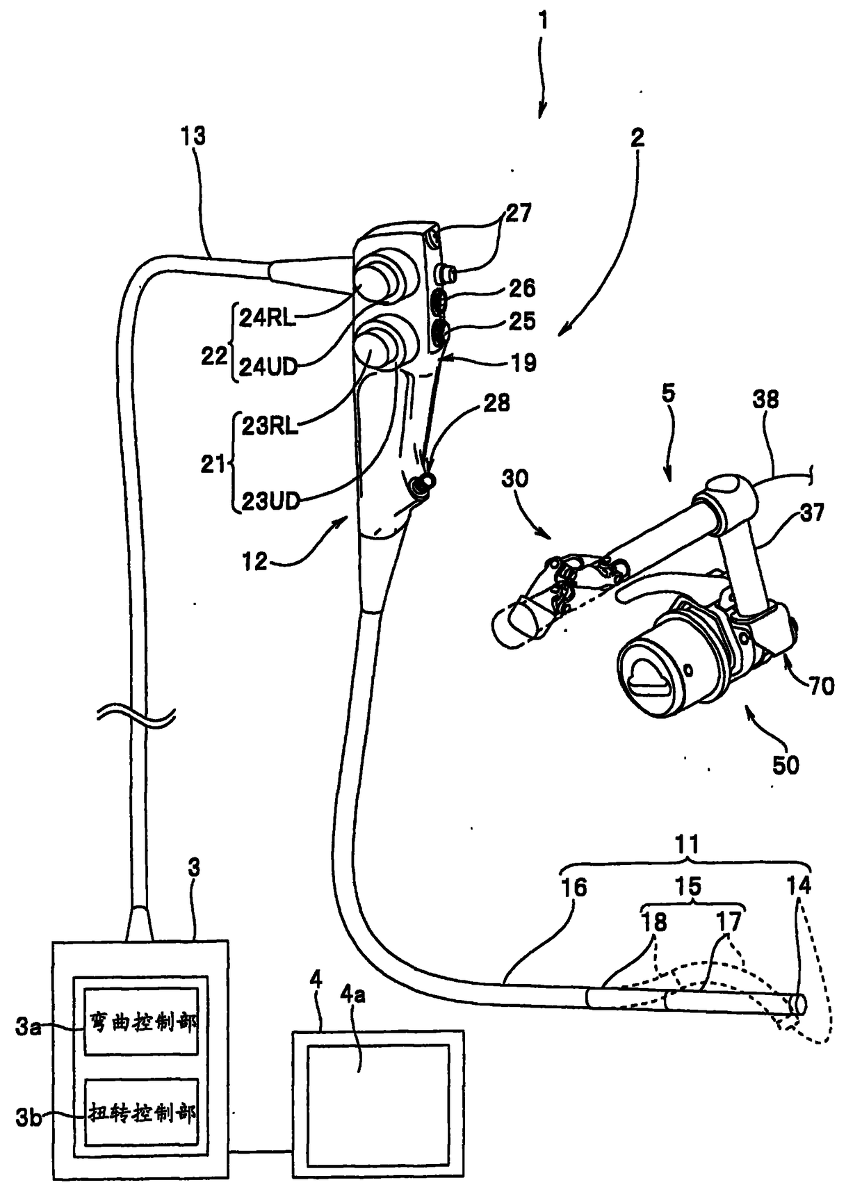
电动弯曲操作装置及具有该装置的医疗处置系统
授权日:
2012-09-19
公开(公告)号:
CN101579225B
申请日:
2009-05-12
公开(公告)日:
2012-09-19
当前申请(专利权)人:
奥林巴斯株式会社
发明人:
冈本康弘 | 万寿和夫
简单同族:
AT546087T | CN101579225A | CN101579225B | EP2123211A1 | EP2123211B1 | JP2009273877A | JP2009273877A5 | JP5322714B2 | US20090287055A1 | US8409079
简单同族成员数量:
10
简单同族被引用专利总数:
554
诉讼案件数:
0
法律状态/事件:
授权 | 权利转移