首页
专利数据库
产业人才
行业动态
产业政策法规
维权援助
个人中心
登录/注册
详情
文本
图像
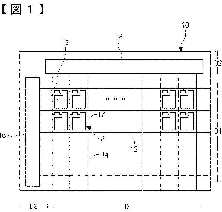
标题:
液晶表示装置用アレイ基板とその製造方法
授权日:
2010-08-13
公开(公告)号:
JP4567634B2
申请日:
2006-06-27
公开(公告)日:
2010-10-20
当前申请(专利权)人:
エルジー ディスプレイ カンパニー リミテッド
发明人:
イ ソクウ | パク ヨンイン
简单同族:
CN100461431C | CN1964056A | JP2007133364A | JP4567634B2 | KR101151799B1 | KR1020070049743A | US20070103610A1 | US20090269872A1 | US7532263 | US8462281
简单同族成员数量:
10
简单同族被引用专利总数:
94
诉讼案件数:
0
法律状态/事件:
授权