标题:
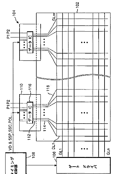
データ駆動集積回路及びその駆動方法と、それを利用した液晶表示装置及びその駆動方法
授权日:
1900-01-01
公开(公告)号:
JP2005173591A
申请日:
2004-12-02
公开(公告)日:
2005-06-30
当前申请(专利权)人:
エルジー.フィリップス エルシーデー カンパニー,リミテッド
发明人:
宋 鴻 聲 | 姜 信 浩 | 洪 鎮 鉄 | 安 承 国
简单同族:
CN100406973C | CN1627143A | DE102004059164A1 | DE102004059164B4 | FR2863759A1 | FR2863759B1 | GB0425979D0 | GB2409096A | GB2409096B | JP2005173591A | NL1027618A | NL1027618C | TW200521945A | TWI291159B | US20050128169A1 | US20090303225A1 | US7586474 | US8847946
简单同族成员数量:
18
简单同族被引用专利总数:
56
诉讼案件数:
0
法律状态/事件:
驳回