首页
专利数据库
产业人才
行业动态
产业政策法规
维权援助
个人中心
登录/注册
详情
文本
图像
标题:
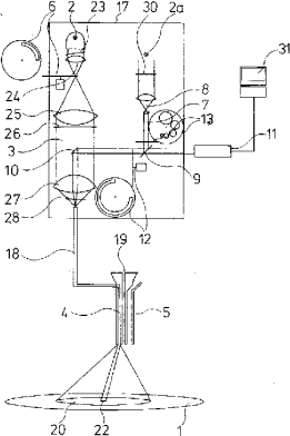
可提供图像的用于组织光谱诊断的装置
授权日:
1900-01-01
公开(公告)号:
CN1398571A
申请日:
2002-07-24
公开(公告)日:
2003-02-26
当前申请(专利权)人:
理查德·沃尔夫有限公司
发明人:
贝恩德・克劳斯・韦伯 | 托马斯・戈尔 | 奥拉夫・施密特 | 菲利普・艾德纳 | 斯特凡・米勒 | 尼古拉斯・佩莱拉・德尔加多 | 卢茨・弗赖塔格
简单同族:
AT266352T | CN1230116C | CN1398571A | DE10136191A1 | EP1279364A2 | EP1279364A3 | EP1279364B1 | ES2221662T3 | JP2003052624A | KR1020030010537A | US20040019281A1
简单同族成员数量:
11
简单同族被引用专利总数:
50
诉讼案件数:
0
法律状态/事件:
未缴年费