首页
专利数据库
产业人才
行业动态
产业政策法规
维权援助
个人中心
登录/注册
详情
文本
图像
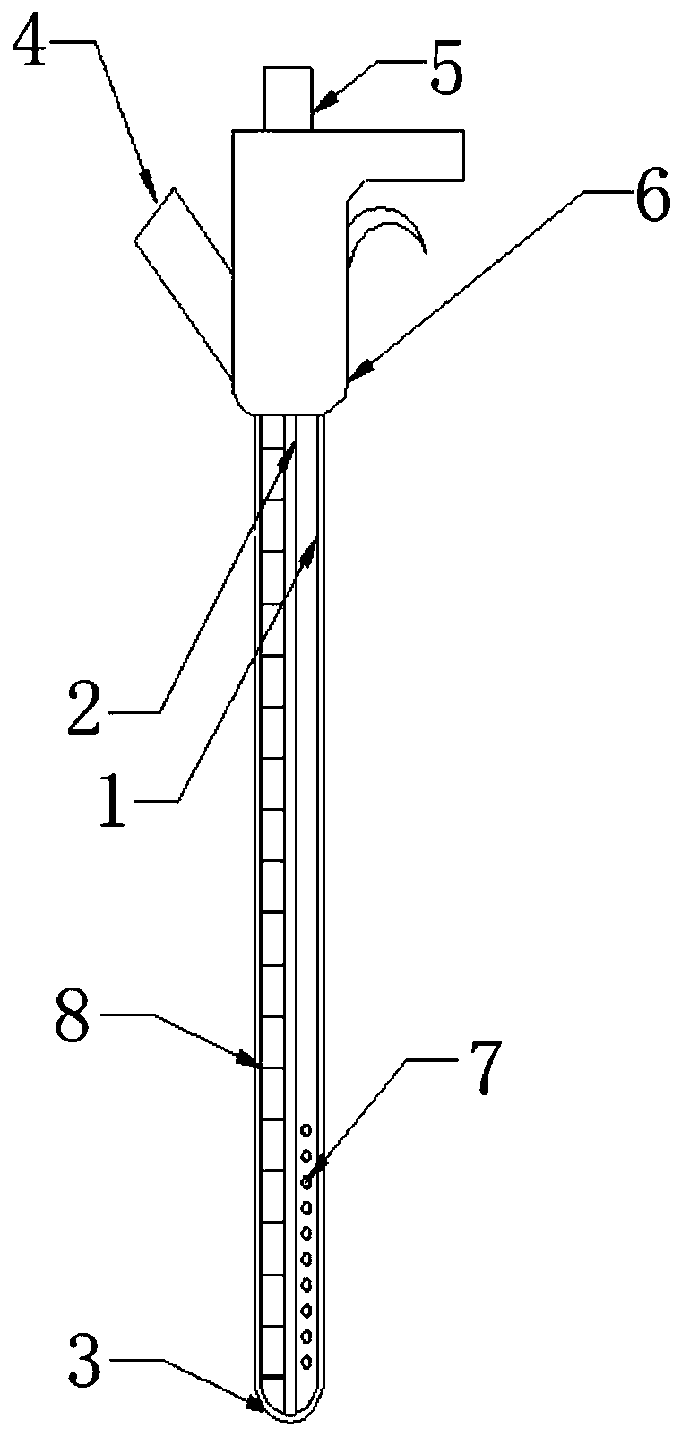
标题:
一种可视可弯引流管及一种可视可定向控弯引流装置
授权日:
1900-01-01
公开(公告)号:
CN109821135A
申请日:
2019-03-21
公开(公告)日:
2019-05-31
当前申请(专利权)人:
上海伴诚医疗科技有限公司
发明人:
兰津 | 马捷 | 盛雨峰
简单同族:
CN109821135A
简单同族成员数量:
1
简单同族被引用专利总数:
0
诉讼案件数:
0
法律状态/事件:
实质审查