首页
专利数据库
产业人才
行业动态
产业政策法规
维权援助
个人中心
登录/注册
详情
文本
图像
标题:
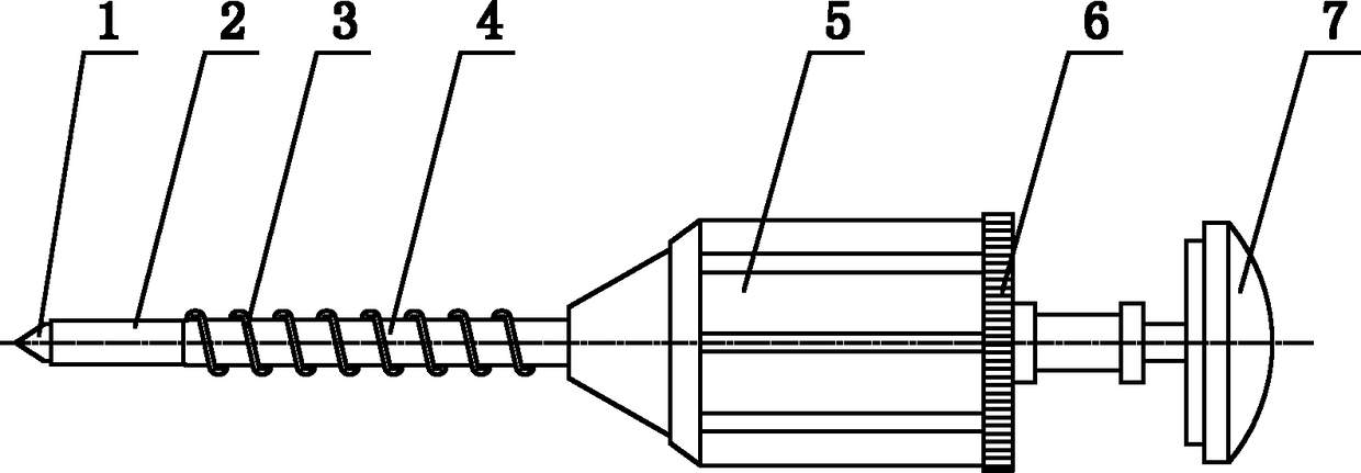
新生儿腹腔镜幽门环肌切开术专用套管针
授权日:
2011-06-29
公开(公告)号:
CN201879793U
申请日:
2010-12-06
公开(公告)日:
2011-06-29
当前申请(专利权)人:
天津市儿童医院
发明人:
牛军 | 胡博 | 叶祖萍 | 崔华雷 | 戴春娟 | 张宝刚 | 刘卫军 | 纪红丽 | 房爱敏 | 尹娟
简单同族:
CN201879793U
简单同族成员数量:
1
简单同族被引用专利总数:
0
诉讼案件数:
0
法律状态/事件:
未缴年费