首页
专利数据库
产业人才
行业动态
产业政策法规
维权援助
个人中心
登录/注册
详情
文本
图像
标题:
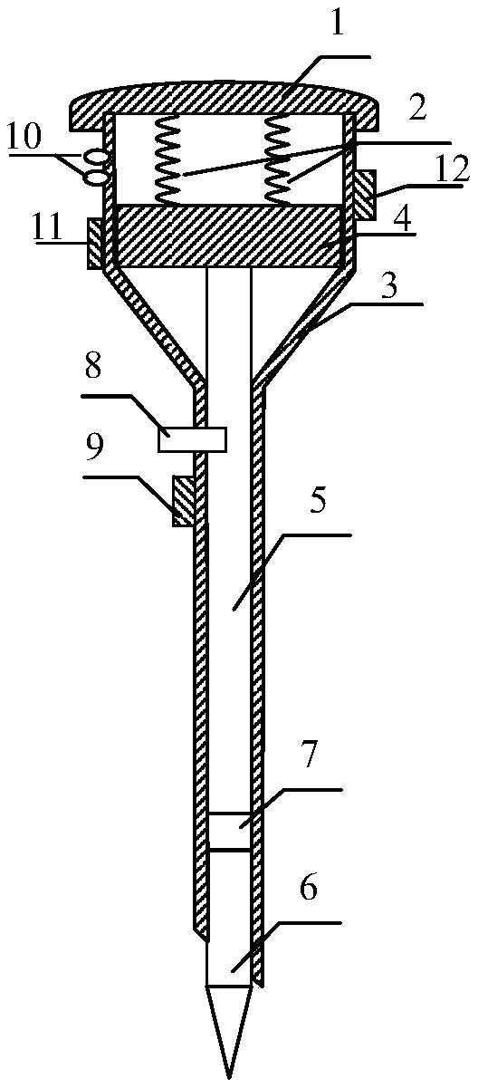
一种智能腹腔镜安全穿刺器
授权日:
2019-06-25
公开(公告)号:
CN209018873U
申请日:
2017-07-24
公开(公告)日:
2019-06-25
当前申请(专利权)人:
吉林省前卫医院
发明人:
宋华 | 邬绍新 | 王鹤 | 张伟 | 金芮伊
简单同族:
CN209018873U
简单同族成员数量:
1
简单同族被引用专利总数:
0
诉讼案件数:
0
法律状态/事件:
授权