首页
专利数据库
产业人才
行业动态
产业政策法规
维权援助
个人中心
登录/注册
详情
文本
图像
标题:
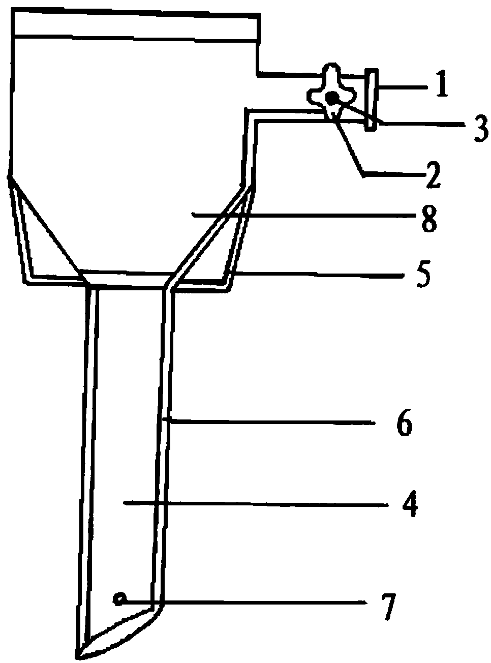
压力可调式腹腔镜套管
授权日:
2018-01-09
公开(公告)号:
CN206852579U
申请日:
2016-11-07
公开(公告)日:
2018-01-09
当前申请(专利权)人:
冯健
发明人:
冯健
简单同族:
CN206852579U
简单同族成员数量:
1
简单同族被引用专利总数:
0
诉讼案件数:
0
法律状态/事件:
未缴年费