首页
专利数据库
产业人才
行业动态
产业政策法规
维权援助
个人中心
登录/注册
详情
文本
图像
标题:
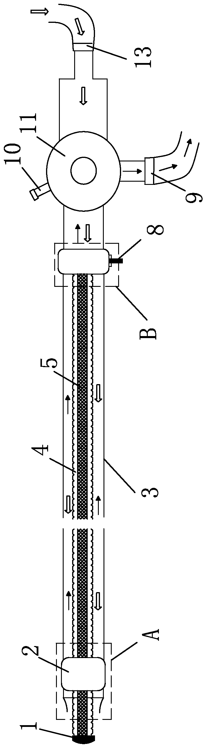
一种除烟、防焦痂粘连腹腔镜用电凝棒
授权日:
1900-01-01
公开(公告)号:
CN110179536A
申请日:
2019-04-09
公开(公告)日:
2019-08-30
当前申请(专利权)人:
温州医科大学附属第一医院
发明人:
陈云志 | 周蒙滔 | 戴胜杰 | 余华军 | 张启瑜
简单同族:
CN110179536A
简单同族成员数量:
1
简单同族被引用专利总数:
0
诉讼案件数:
0
法律状态/事件:
实质审查