首页
专利数据库
产业人才
行业动态
产业政策法规
维权援助
个人中心
登录/注册
详情
文本
图像
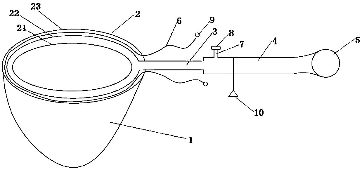
标题:
一种腹腔镜手术标本取出袋
授权日:
2019-07-19
公开(公告)号:
CN209122299U
申请日:
2018-01-23
公开(公告)日:
2019-07-19
当前申请(专利权)人:
葛蕙心
发明人:
葛蕙心 | 周学会 | 穆子花
简单同族:
CN209122299U
简单同族成员数量:
1
简单同族被引用专利总数:
0
诉讼案件数:
0
法律状态/事件:
授权