首页
专利数据库
产业人才
行业动态
产业政策法规
维权援助
个人中心
登录/注册
详情
文本
图像
标题:
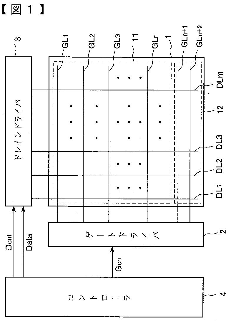
液晶表示装置
授权日:
2010-10-22
公开(公告)号:
JP4609970B2
申请日:
2001-01-17
公开(公告)日:
2011-01-12
当前申请(专利权)人:
カシオ計算機株式会社
发明人:
豊島 剛 | 佐々木 和広 | 両澤 克彦
简单同族:
CN1193329C | CN1366284A | HK1048875A | HK1048875A1 | JP2002214643A | JP4609970B2 | KR100470881B1 | KR1020020062171A | TW552571B | US20020093474A1 | US6795049
简单同族成员数量:
11
简单同族被引用专利总数:
78
诉讼案件数:
0
法律状态/事件:
未缴年费