首页
专利数据库
产业人才
行业动态
产业政策法规
维权援助
个人中心
登录/注册
详情
文本
图像
标题:
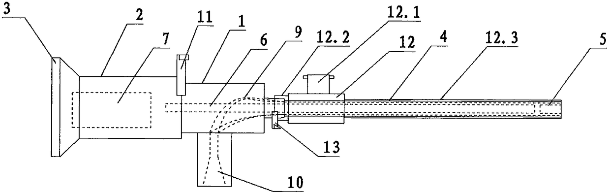
一种可带冲通装置可分离纤维内窥镜
授权日:
2018-09-25
公开(公告)号:
CN207898460U
申请日:
2017-08-28
公开(公告)日:
2018-09-25
当前申请(专利权)人:
聂玉奎 | 刘小华
发明人:
聂玉奎 | 刘小华 | 王夏天
简单同族:
CN207898460U
简单同族成员数量:
1
简单同族被引用专利总数:
0
诉讼案件数:
0
法律状态/事件:
授权