首页
专利数据库
产业人才
行业动态
产业政策法规
维权援助
个人中心
登录/注册
详情
文本
图像
标题:
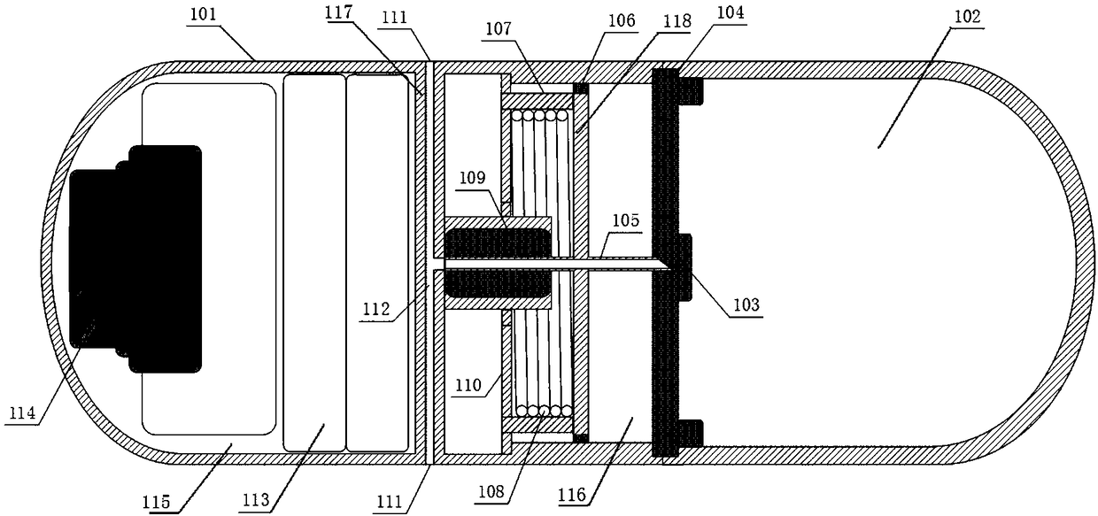
基于形状记忆弹簧的采样胶囊内窥镜
授权日:
1900-01-01
公开(公告)号:
CN108784633A
申请日:
2018-06-15
公开(公告)日:
2018-11-13
当前申请(专利权)人:
安翰科技(武汉)股份有限公司
发明人:
杨戴天杙 | 包宇晖 | 明繁华 | 王新宏
简单同族:
CN108784633A
简单同族成员数量:
1
简单同族被引用专利总数:
0
诉讼案件数:
0
法律状态/事件:
实质审查