标题:
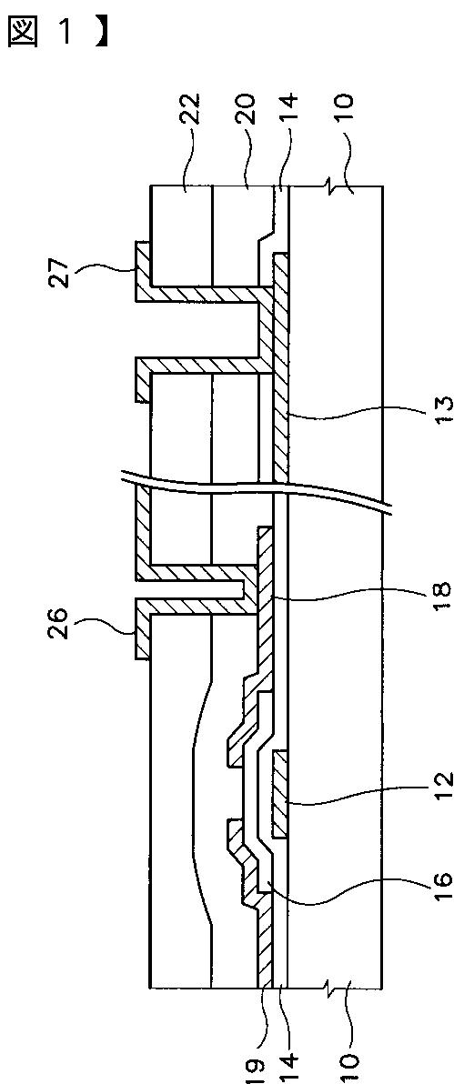
液晶表示装置用薄膜トランジスター基板及びその製造方法
授权日:
2011-03-25
公开(公告)号:
JP4707692B2
申请日:
2007-05-01
公开(公告)日:
2011-06-22
当前申请(专利权)人:
三星電子株式会社
发明人:
金 東 奎
简单同族:
CN101819971A | CN101819971B | CN1258117C | CN1385743A | CN1822350A | CN1822350B | JP2002341384A | JP2007293350A | JP3971909B2 | JP4707692B2 | KR100803177B1 | KR1020020087162A | TWI286642B | US20020167009A1 | US20030132443A1 | US20040227864A1 | US6624446 | US6828167 | US7176494
简单同族成员数量:
19
简单同族被引用专利总数:
114
诉讼案件数:
0
法律状态/事件:
授权 | 权利转移