首页
专利数据库
产业人才
行业动态
产业政策法规
维权援助
个人中心
登录/注册
详情
文本
图像
标题:
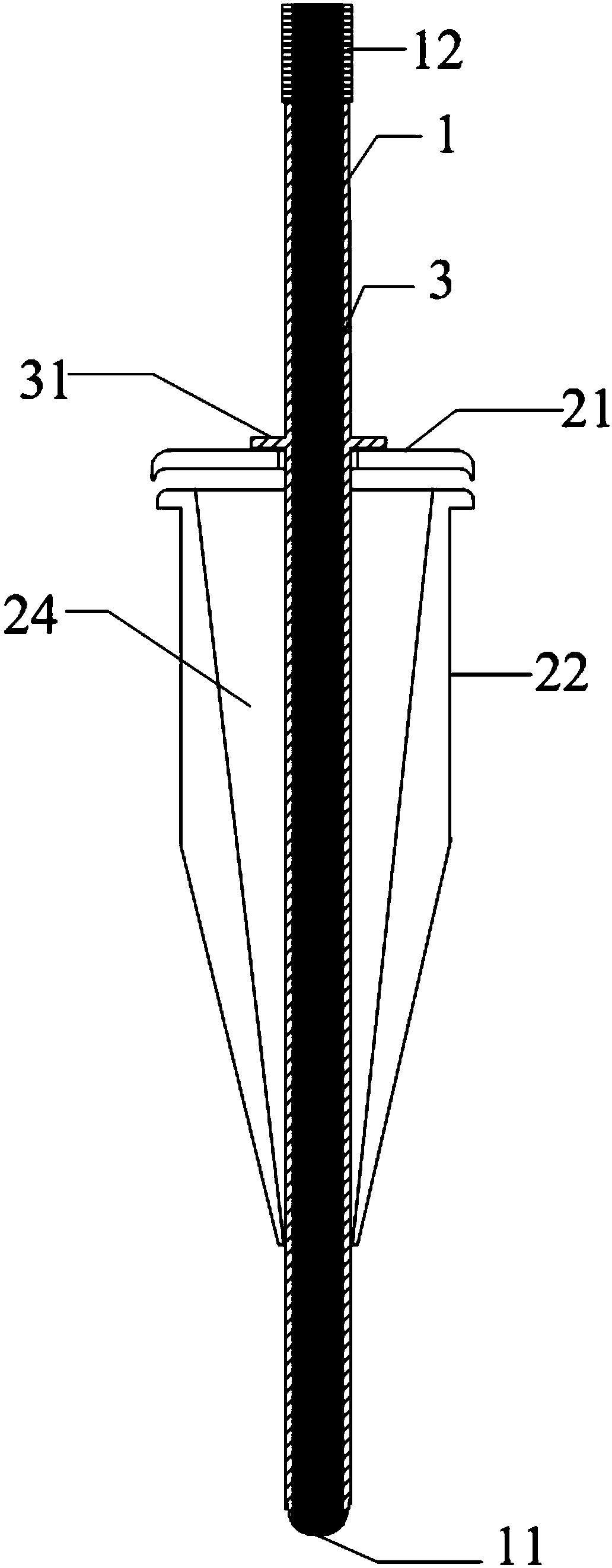
脑内窥镜导引装置
授权日:
2019-04-09
公开(公告)号:
CN208710007U
申请日:
2017-10-13
公开(公告)日:
2019-04-09
当前申请(专利权)人:
浙江大学
发明人:
陈高 | 刘凤强
简单同族:
CN208710007U
简单同族成员数量:
1
简单同族被引用专利总数:
0
诉讼案件数:
0
法律状态/事件:
授权