首页
专利数据库
产业人才
行业动态
产业政策法规
维权援助
个人中心
登录/注册
详情
文本
图像
标题:
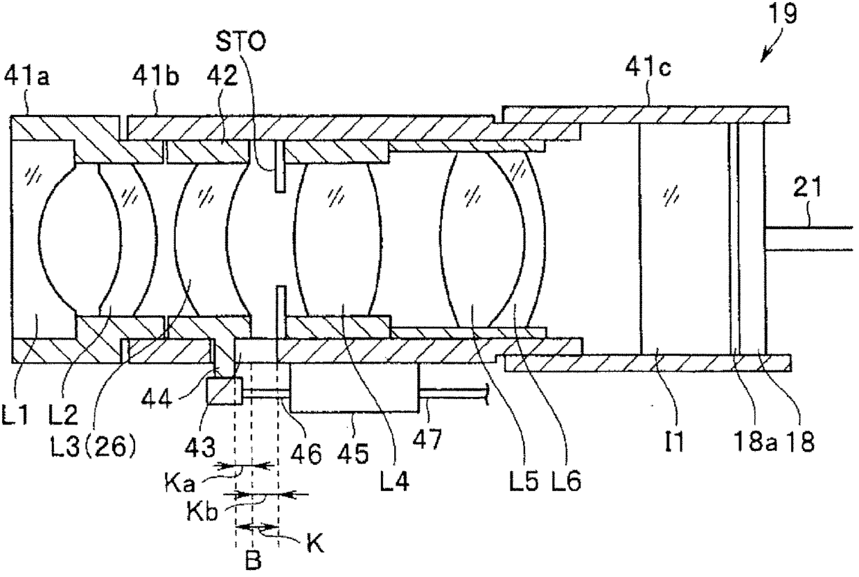
内窥镜装置
授权日:
2015-09-02
公开(公告)号:
CN103261940B
申请日:
2012-06-27
公开(公告)日:
2015-09-02
当前申请(专利权)人:
奥林巴斯株式会社
发明人:
笹本勉
简单同族:
CN103261940A | CN103261940B | EP2634614A1 | EP2634614A4 | EP2634614B1 | JP5253688B1 | JPWO2013021744A1 | US20130217965A1 | US8773765 | WO2013021744A1
简单同族成员数量:
10
简单同族被引用专利总数:
47
诉讼案件数:
0
法律状态/事件:
授权 | 权利转移