首页
专利数据库
产业人才
行业动态
产业政策法规
维权援助
个人中心
登录/注册
详情
文本
图像
标题:
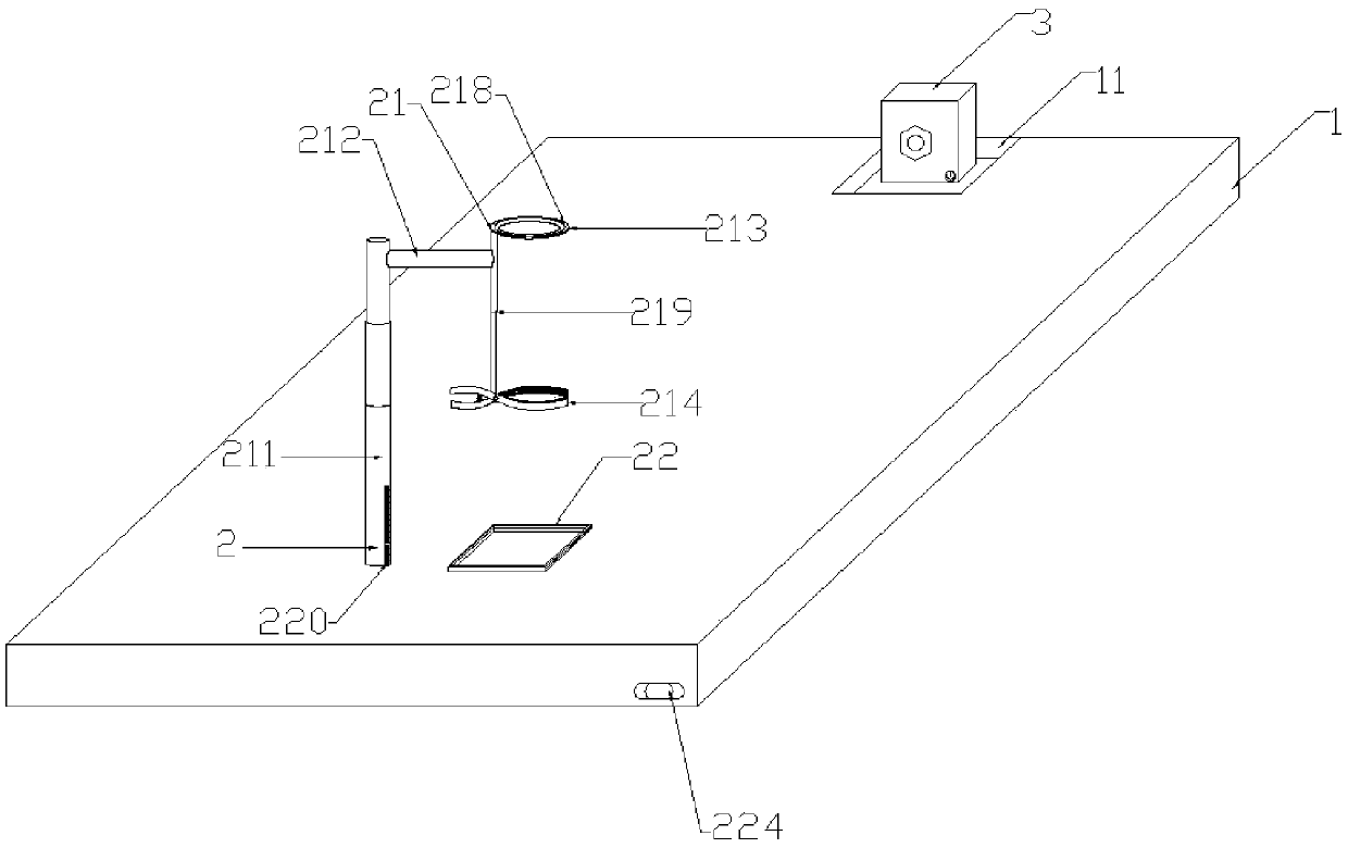
一种腹腔镜光学目镜专用检查平台
授权日:
2020-06-05
公开(公告)号:
CN210673288U
申请日:
2019-04-03
公开(公告)日:
2020-06-05
当前申请(专利权)人:
中国人民解放军第四军医大学
发明人:
陈丽媛 | 王军学 | 白惠
简单同族:
CN210673288U
简单同族成员数量:
1
简单同族被引用专利总数:
0
诉讼案件数:
0
法律状态/事件:
授权