首页
专利数据库
产业人才
行业动态
产业政策法规
维权援助
个人中心
登录/注册
详情
文本
图像
标题:
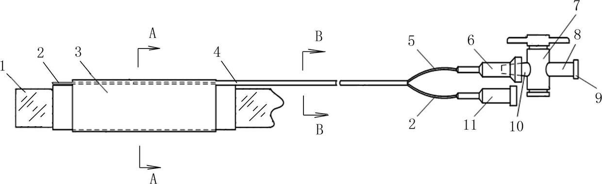
带有双管的内窥镜外套气囊
授权日:
1900-01-01
公开(公告)号:
CN102657554A
申请日:
2012-05-21
公开(公告)日:
2012-09-12
当前申请(专利权)人:
曹阳
发明人:
曹阳
简单同族:
CN102657554A
简单同族成员数量:
1
简单同族被引用专利总数:
0
诉讼案件数:
0
法律状态/事件:
撤回