首页
专利数据库
产业人才
行业动态
产业政策法规
维权援助
个人中心
登录/注册
详情
文本
图像
标题:
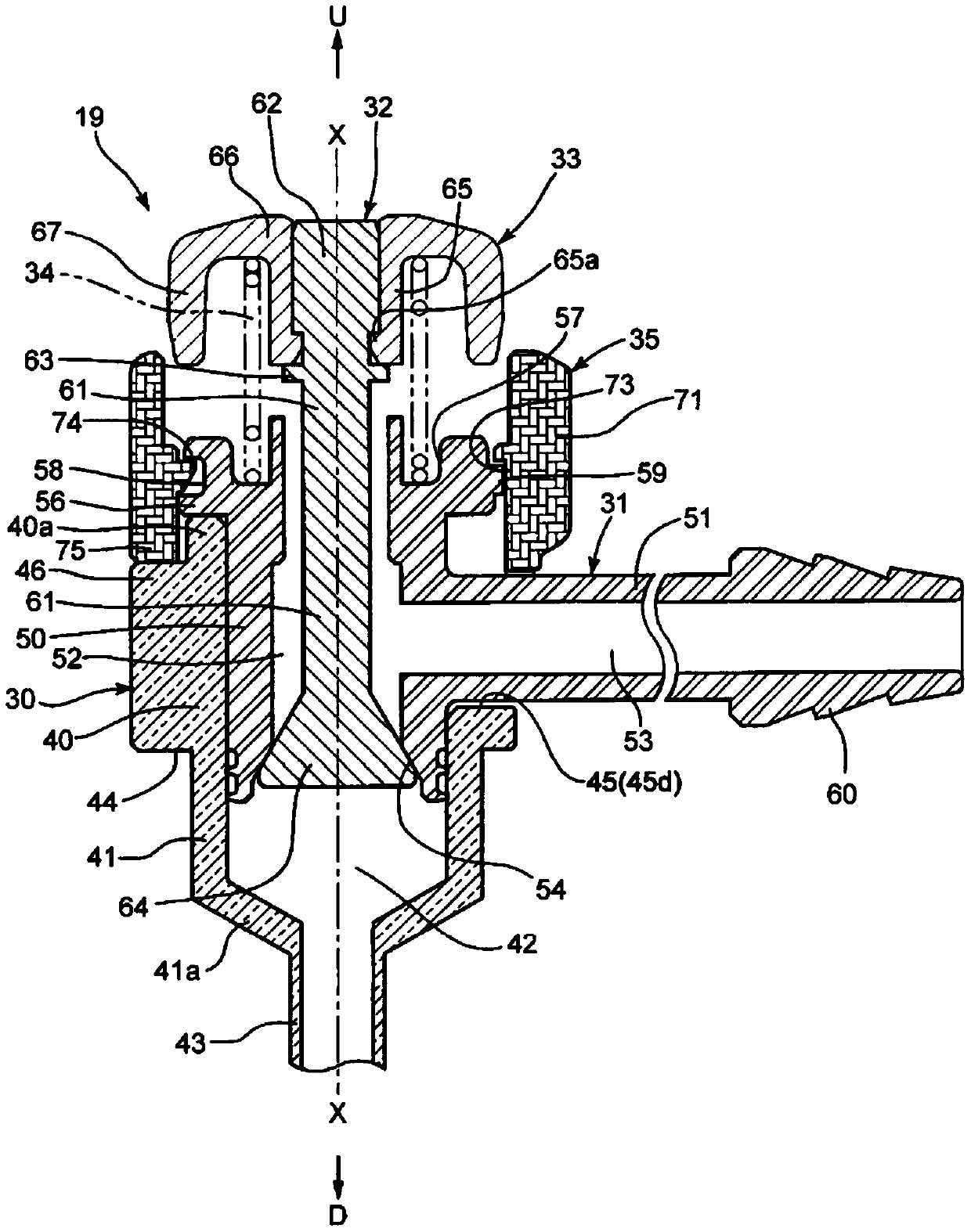
内窥镜的操作装置
授权日:
2019-10-11
公开(公告)号:
CN209474564U
申请日:
2018-09-05
公开(公告)日:
2019-10-11
当前申请(专利权)人:
HOYA株式会社
发明人:
菊地涉 | 细木义弘 | 市仓繁 | 鸠间崇弘 | 神田靖子
简单同族:
CN209474564U
简单同族成员数量:
1
简单同族被引用专利总数:
0
诉讼案件数:
0
法律状态/事件:
授权