首页
专利数据库
产业人才
行业动态
产业政策法规
维权援助
个人中心
登录/注册
详情
文本
图像
标题:
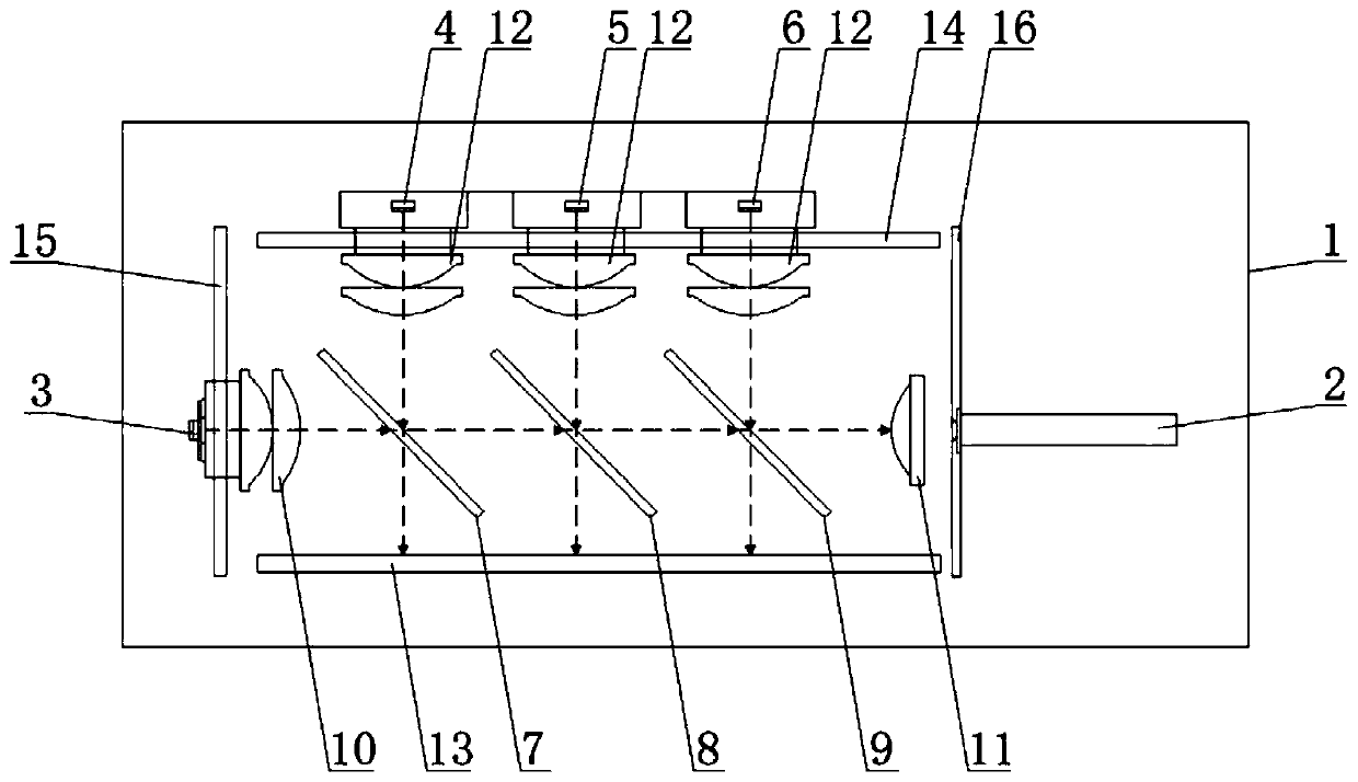
多模内窥镜光源装置
授权日:
1900-01-01
公开(公告)号:
CN110367916A
申请日:
2019-08-23
公开(公告)日:
2019-10-25
当前申请(专利权)人:
重庆金山医疗技术研究院有限公司
发明人:
袁谋堃 | 孙宇 | 蔡长春 | 周健 | 李烨 | 邓安鹏
简单同族:
CN110367916A
简单同族成员数量:
1
简单同族被引用专利总数:
0
诉讼案件数:
0
法律状态/事件:
实质审查