首页
专利数据库
产业人才
行业动态
产业政策法规
维权援助
个人中心
登录/注册
详情
文本
图像
标题:
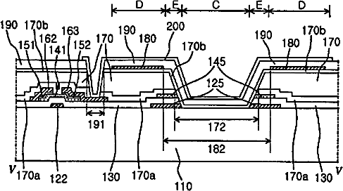
半透過液晶表示装置及びその製造方法
授权日:
1900-01-01
公开(公告)号:
JP2003140190A
申请日:
2002-07-05
公开(公告)日:
2003-05-14
当前申请(专利权)人:
エルジー フィリップス エルシーディー カンパニー リミテッド
发明人:
ハ, キョン-ス | キム, ウーン-クウォン | キム, ドン-グク
简单同族:
CN1280668C | CN1417622A | JP2003140190A | JP3815784B2 | KR100820647B1 | KR1020030034855A | TW583487B | US20030081159A1 | US6654076
简单同族成员数量:
9
简单同族被引用专利总数:
146
诉讼案件数:
0
法律状态/事件:
未缴年费 | 权利转移