首页
专利数据库
产业人才
行业动态
产业政策法规
维权援助
个人中心
登录/注册
详情
文本
图像
标题:
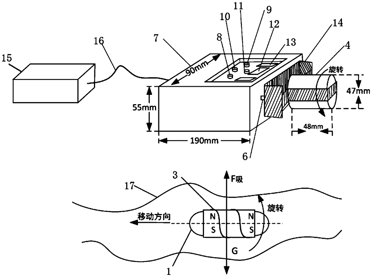
一种基于磁主动控制法的胶囊内窥镜装置
授权日:
2019-02-15
公开(公告)号:
CN208492032U
申请日:
2017-12-04
公开(公告)日:
2019-02-15
当前申请(专利权)人:
湖北大学
发明人:
李芷君 | 叶波 | 郭琳 | 蒋碧波 | 钟志峰 | 王雨竹 | 易娜 | 伍嘉丽
简单同族:
CN208492032U
简单同族成员数量:
1
简单同族被引用专利总数:
0
诉讼案件数:
0
法律状态/事件:
授权