首页
专利数据库
产业人才
行业动态
产业政策法规
维权援助
个人中心
登录/注册
详情
文本
图像
标题:
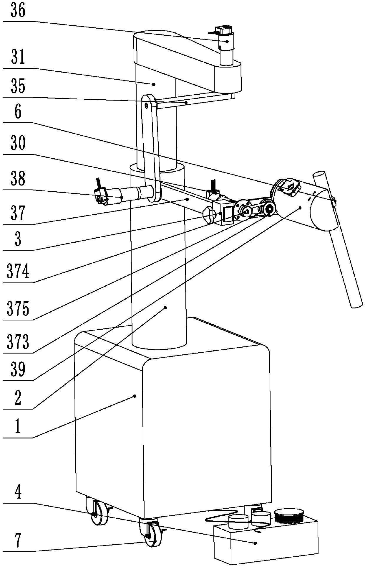
一种单人脚控腹腔镜持镜机械臂
授权日:
1900-01-01
公开(公告)号:
CN109646114A
申请日:
2019-01-30
公开(公告)日:
2019-04-19
当前申请(专利权)人:
温州医科大学附属第二医院(温州医科大学附属育英儿童医院)
发明人:
朱利斌 | 林正秀 | 何国荣 | 包小周 | 李仲荣
简单同族:
CN109646114A
简单同族成员数量:
1
简单同族被引用专利总数:
0
诉讼案件数:
0
法律状态/事件:
实质审查