首页
专利数据库
产业人才
行业动态
产业政策法规
维权援助
个人中心
登录/注册
详情
文本
图像
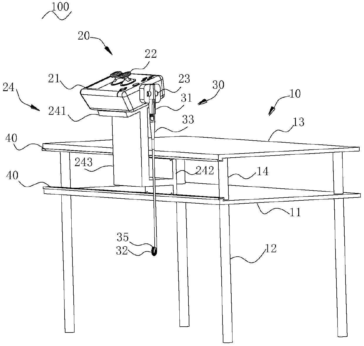
标题:
内窥镜操作系统
授权日:
2020-06-09
公开(公告)号:
CN210697581U
申请日:
2019-07-11
公开(公告)日:
2020-06-09
当前申请(专利权)人:
深圳市先赞科技有限公司 | 岱川医疗(深圳)有限责任公司
发明人:
李奕 | 刘红宇 | 杨俊峰
简单同族:
CN210697581U
简单同族成员数量:
1
简单同族被引用专利总数:
0
诉讼案件数:
0
法律状态/事件:
授权