首页
专利数据库
产业人才
行业动态
产业政策法规
维权援助
个人中心
登录/注册
详情
文本
图像
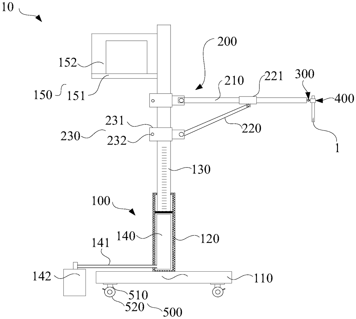
标题:
一种腹腔镜术中用辅助装置
授权日:
1900-01-01
公开(公告)号:
CN109223065A
申请日:
2018-11-13
公开(公告)日:
2019-01-18
当前申请(专利权)人:
中国人民解放军陆军特色医学中心
发明人:
邓静 | 甘晓琴 | 罗羽
简单同族:
CN109223065A
简单同族成员数量:
1
简单同族被引用专利总数:
0
诉讼案件数:
0
法律状态/事件:
实质审查