首页
专利数据库
产业人才
行业动态
产业政策法规
维权援助
个人中心
登录/注册
详情
文本
图像
标题:
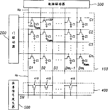
液晶显示器及其驱动方法
授权日:
1900-01-01
公开(公告)号:
CN1372241A
申请日:
2002-01-28
公开(公告)日:
2002-10-02
当前申请(专利权)人:
三星显示有限公司
发明人:
金英基
简单同族:
CN1282147C | CN1372241A | EP1235199A2 | EP1235199A3 | JP2002268613A | KR100759974B1 | KR1020020069412A | TW559754B | US20020118154A1 | US20070001992A1 | US7215311
简单同族成员数量:
11
简单同族被引用专利总数:
105
诉讼案件数:
0
法律状态/事件:
未缴年费 | 权利转移