首页
专利数据库
产业人才
行业动态
产业政策法规
维权援助
个人中心
登录/注册
详情
文本
图像
标题:
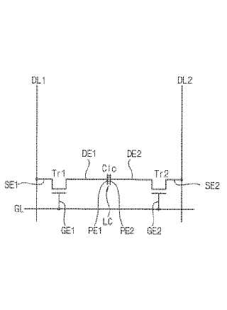
液晶表示装置
授权日:
1900-01-01
公开(公告)号:
JP2006293297A
申请日:
2005-12-09
公开(公告)日:
2006-10-26
当前申请(专利权)人:
サムスン エレクトロニクス カンパニー リミテッド
发明人:
シン·キョン-ジュ | 朴 哲 佑 | 蔡 鍾 哲
简单同族:
CN100504555C | CN1844991A | JP2006293297A | KR1020060106168A | TW200636331A | US20060227273A1 | US20090174829A1
简单同族成员数量:
7
简单同族被引用专利总数:
58
诉讼案件数:
0
法律状态/事件:
撤回