首页
专利数据库
产业人才
行业动态
产业政策法规
维权援助
个人中心
登录/注册
详情
文本
图像
标题:
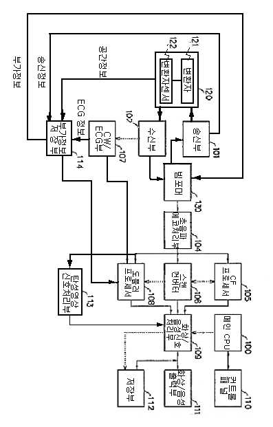
부가정보를 이용하여 영상을 구성하는 초음파 시스템
授权日:
1900-01-01
公开(公告)号:
KR1020070009201A
申请日:
2005-07-15
公开(公告)日:
2007-01-18
当前申请(专利权)人:
삼성메디슨 주식회사
发明人:
이승우 | 배무호
简单同族:
EP1744180A1 | JP2007021179A | JP4668808B2 | KR100748585B1 | KR1020070009201A | US20070016066A1
简单同族成员数量:
6
简单同族被引用专利总数:
24
诉讼案件数:
0
法律状态/事件:
授权