首页
专利数据库
产业人才
行业动态
产业政策法规
维权援助
个人中心
登录/注册
详情
文本
图像
标题:
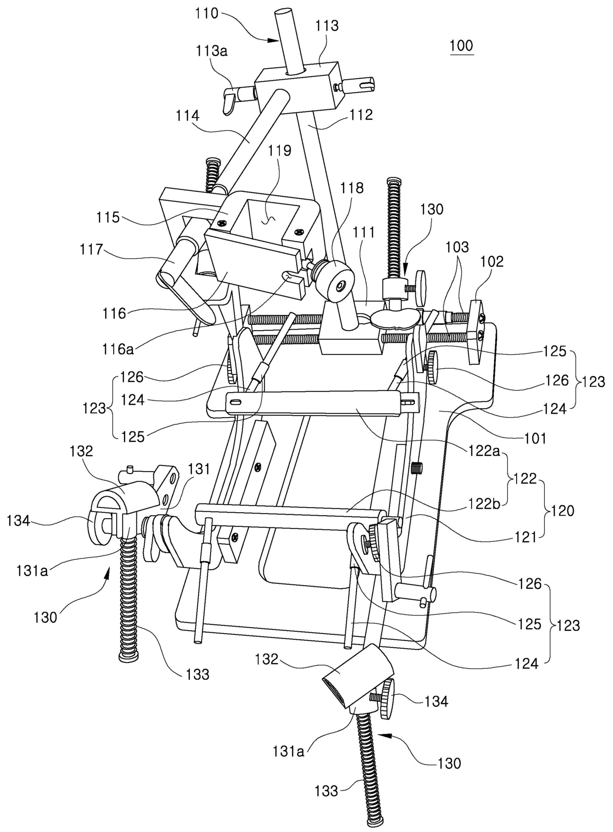
혈관내경 측정용 팔 및 초음파 탐침 고정 장치
授权日:
1900-01-01
公开(公告)号:
KR1020120059233A
申请日:
2010-11-30
公开(公告)日:
2012-06-08
当前申请(专利权)人:
아주대학교산학협력단
发明人:
홍지만
简单同族:
KR101204219B1 | KR1020120059233A
简单同族成员数量:
2
简单同族被引用专利总数:
0
诉讼案件数:
0
法律状态/事件:
未缴年费