标题:
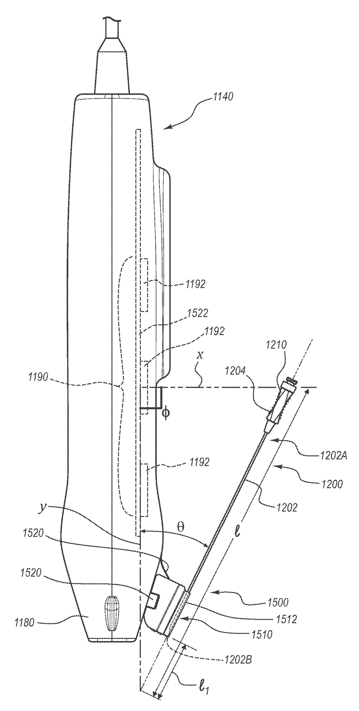
발명의 명칭 삽입 유도 시스템을 위한 바늘 길이 결정 및 교정
授权日:
1900-01-01
公开(公告)号:
KR1020140051284A
申请日:
2012-07-06
公开(公告)日:
2014-04-30
当前申请(专利权)人:
씨. 알. 바드, 인크.
发明人:
윌키스브라이슨지. | 뉴만존비. | 메썰리샤인
简单同族:
AU2012278809A1 | AU2012278809B2 | BR112013030348A2 | CA2835890A1 | CN103635146A | CN103635146B | CN105662402A | CN105662402B | EP2729073A1 | EP2729073A4 | JP2014518137A | JP6008960B2 | KR1020140051284A | KR1020190034688A | KR102057430B1 | RU2013158008A | RU2609203C2 | US20130006102A1 | US9492097 | WO2013006817A1
简单同族成员数量:
20
简单同族被引用专利总数:
74
诉讼案件数:
0
法律状态/事件:
驳回