首页
专利数据库
产业人才
行业动态
产业政策法规
维权援助
个人中心
登录/注册
详情
文本
图像
标题:
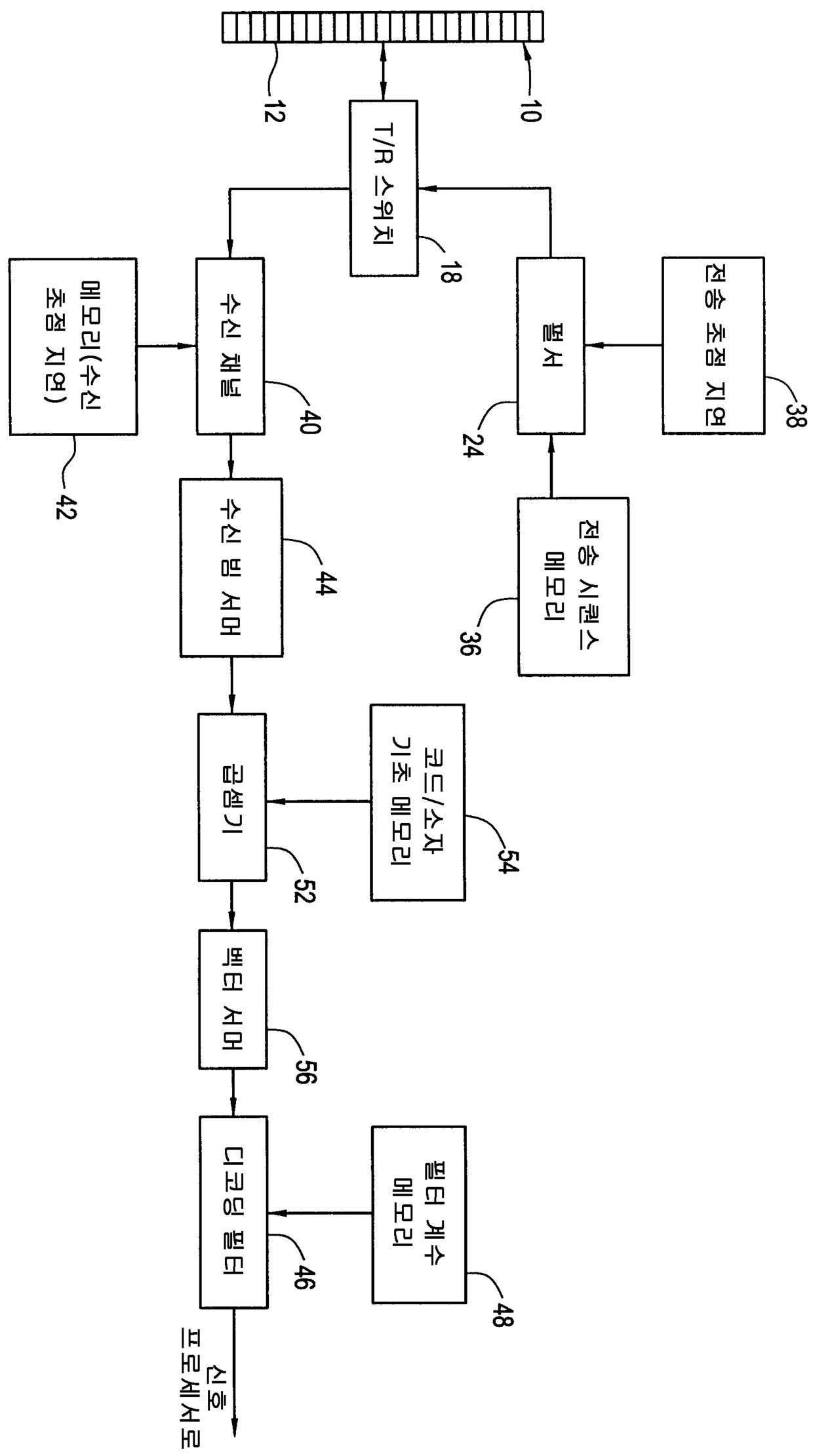
유니폴라 또는 바이폴라 코딩 여기를 이용하여 빔을형성하는 초음파 이미징 시스템
授权日:
1900-01-01
公开(公告)号:
KR1020010014579A
申请日:
2000-03-14
公开(公告)日:
2001-02-26
当前申请(专利权)人:
제너럴 일렉트릭 캄파니
发明人:
챠오리챠드융 | 토마스루이스존3세
简单同族:
CN1218174C | CN1266989A | IT1317630B1 | ITMI2000000540A1 | KR100677025B1 | KR1020010014579A | NO20001339A | NO20001339D0 | NO20001339L | US6155980
简单同族成员数量:
10
简单同族被引用专利总数:
44
诉讼案件数:
0
法律状态/事件:
放弃