首页
专利数据库
产业人才
行业动态
产业政策法规
维权援助
个人中心
登录/注册
详情
文本
图像
标题:
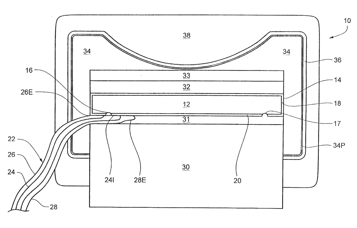
초음파 직선 또는 곡선 변환기 및 그 접속 방법
授权日:
2007-03-08
公开(公告)号:
KR100695504B1
申请日:
2000-06-30
公开(公告)日:
2007-03-15
当前申请(专利权)人:
주식회사 에이디모터스
发明人:
더글라스스티브 | 오가와신지
简单同族:
AT289223T | DE60018195D1 | EP1218115A2 | EP1218115B1 | JP2003518394A | KR100695504B1 | KR1020020059327A | US6396199 | WO2001003108A2 | WO2001003108A3
简单同族成员数量:
10
简单同族被引用专利总数:
78
诉讼案件数:
0
法律状态/事件:
授权 | 权利转移