首页
专利数据库
产业人才
行业动态
产业政策法规
维权援助
个人中心
登录/注册
详情
文本
图像
标题:
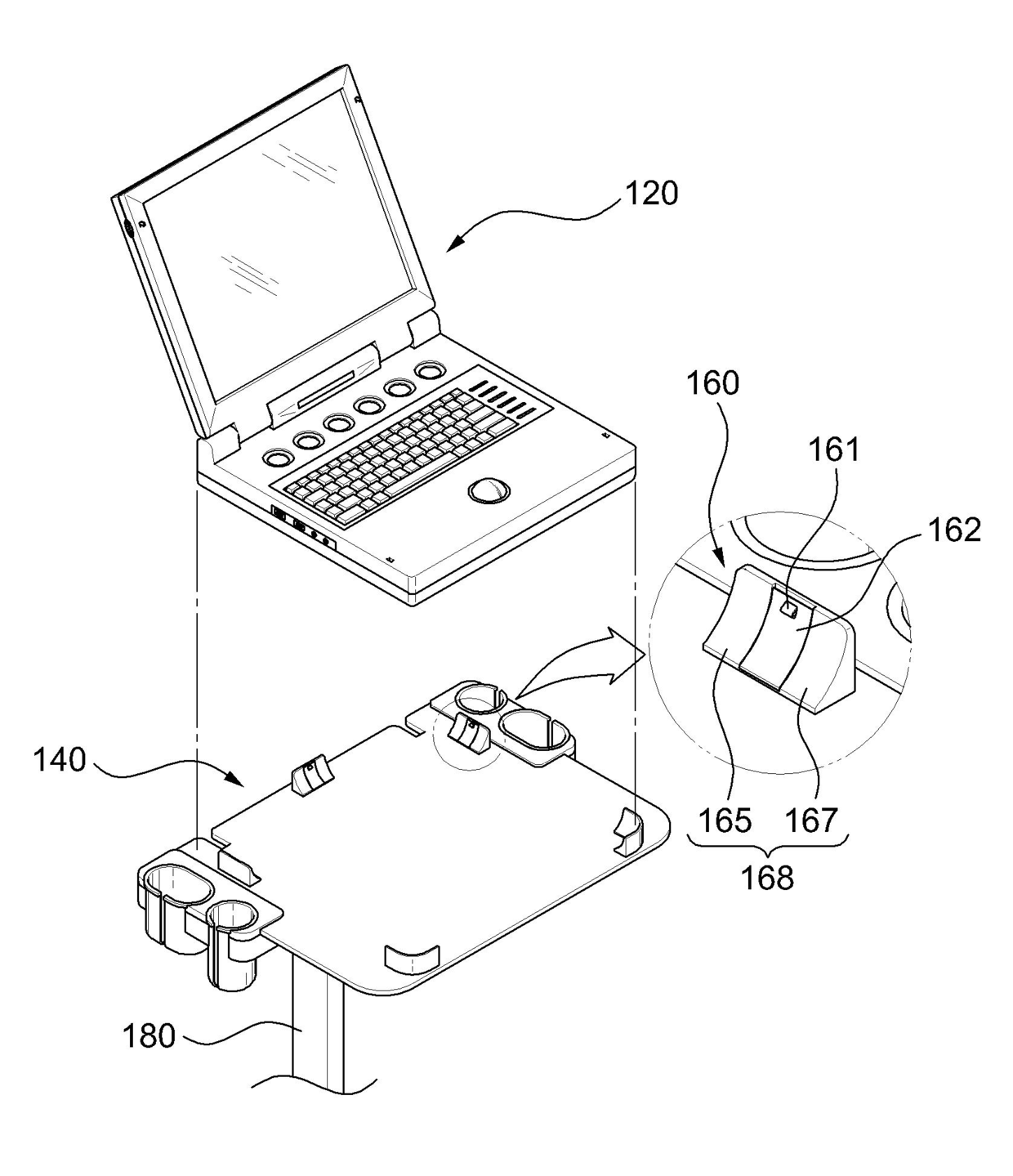
초음파 진단장치
授权日:
1900-01-01
公开(公告)号:
KR1020100004416A
申请日:
2008-07-03
公开(公告)日:
2010-01-13
当前申请(专利权)人:
삼성메디슨 주식회사
发明人:
송미란 | 김재경 | 송영석 | 이선기 | 신수환
简单同族:
EP2140812A1 | JP2010012227A | JP2010012227A5 | KR101068914B1 | KR1020100004416A | US20100004535A1
简单同族成员数量:
6
简单同族被引用专利总数:
43
诉讼案件数:
0
法律状态/事件:
授权