标题:
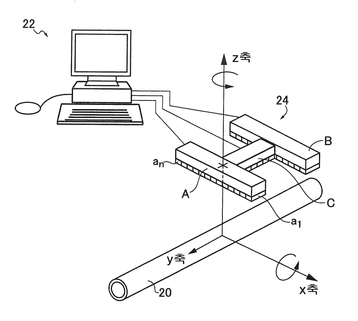
혈관 초음파 화상 측정방법
授权日:
1900-01-01
公开(公告)号:
KR1020100080533A
申请日:
2008-09-16
公开(公告)日:
2010-07-08
当前申请(专利权)人:
가부시키가이샤 유넥스
发明人:
하라다지카오 | 마스다히로시 | 스즈키히데노리
简单同族:
CN101820820A | CN101820820B | EP2198784A1 | EP2198784A4 | EP2198784B1 | HK1147925A | HK1147925A1 | JP2009089911A | JP2009089911A5 | JP5014051B2 | KR101553958B1 | KR1020100080533A | US20100210946A1 | US9089306 | WO2009047966A1
简单同族成员数量:
15
简单同族被引用专利总数:
71
诉讼案件数:
0
法律状态/事件:
授权