首页
专利数据库
产业人才
行业动态
产业政策法规
维权援助
个人中心
登录/注册
详情
文本
图像
标题:
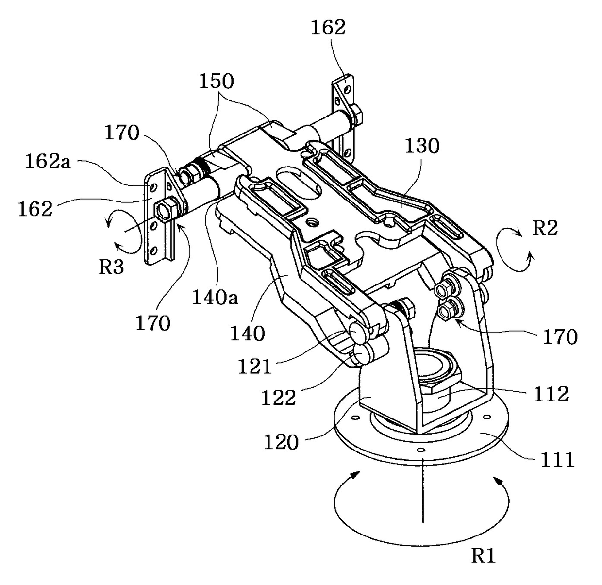
초음파 진단 장치의 모니터를 지지하기 위한 4관절형 모니터 지지 조립체
授权日:
2009-01-16
公开(公告)号:
KR100880123B1
申请日:
2005-07-29
公开(公告)日:
2009-01-23
当前申请(专利权)人:
삼성메디슨 주식회사
发明人:
김기영 | 이선기
简单同族:
EP1747764A2 | EP1747764A3 | JP2007037981A | KR100880123B1 | KR1020070014536A | US20070023598A1 | US7448583
简单同族成员数量:
7
简单同族被引用专利总数:
35
诉讼案件数:
0
法律状态/事件:
授权