首页
专利数据库
产业人才
行业动态
产业政策法规
维权援助
个人中心
登录/注册
详情
文本
图像
标题:
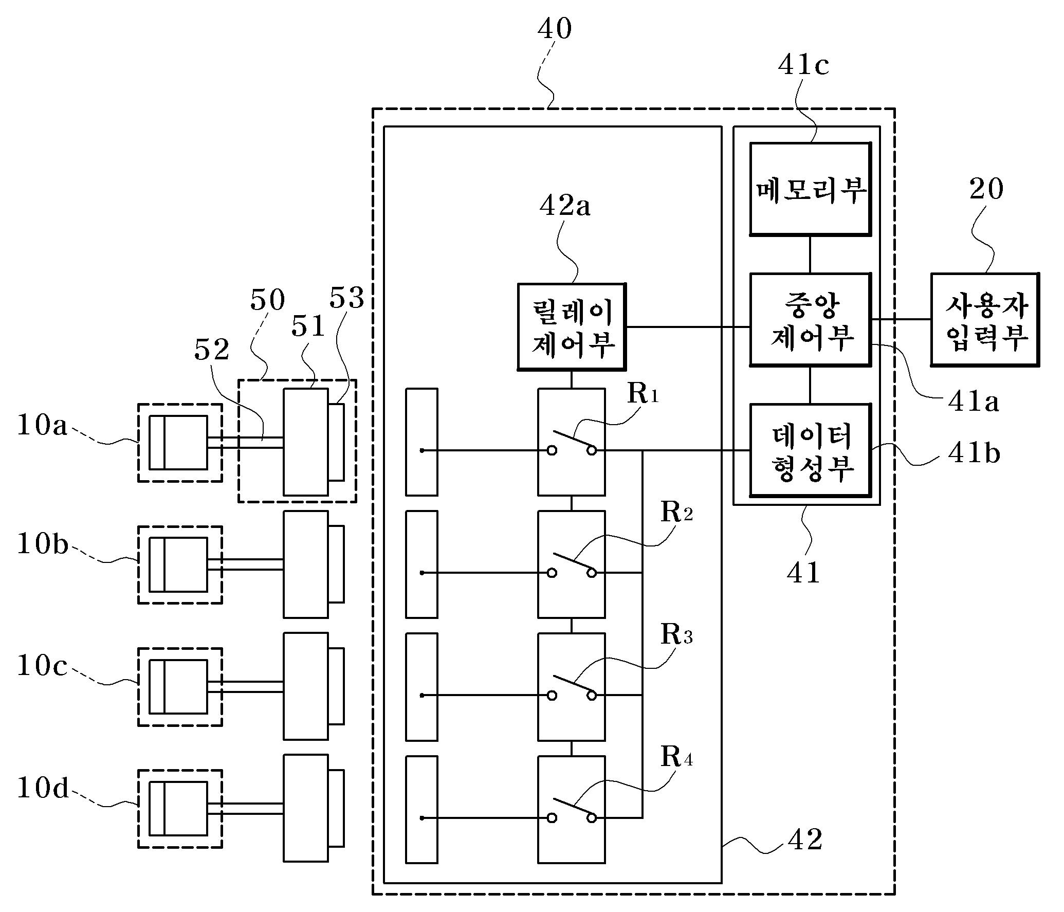
독립적으로 프로브 변경이 가능한 초음파 시스템 및 그 제어방법
授权日:
1900-01-01
公开(公告)号:
KR1020100051941A
申请日:
2008-11-10
公开(公告)日:
2010-05-19
当前申请(专利权)人:
삼성메디슨 주식회사
发明人:
정진우 | 서정철
简单同族:
KR101031011B1 | KR1020100051941A
简单同族成员数量:
2
简单同族被引用专利总数:
0
诉讼案件数:
0
法律状态/事件:
未缴年费