标题:
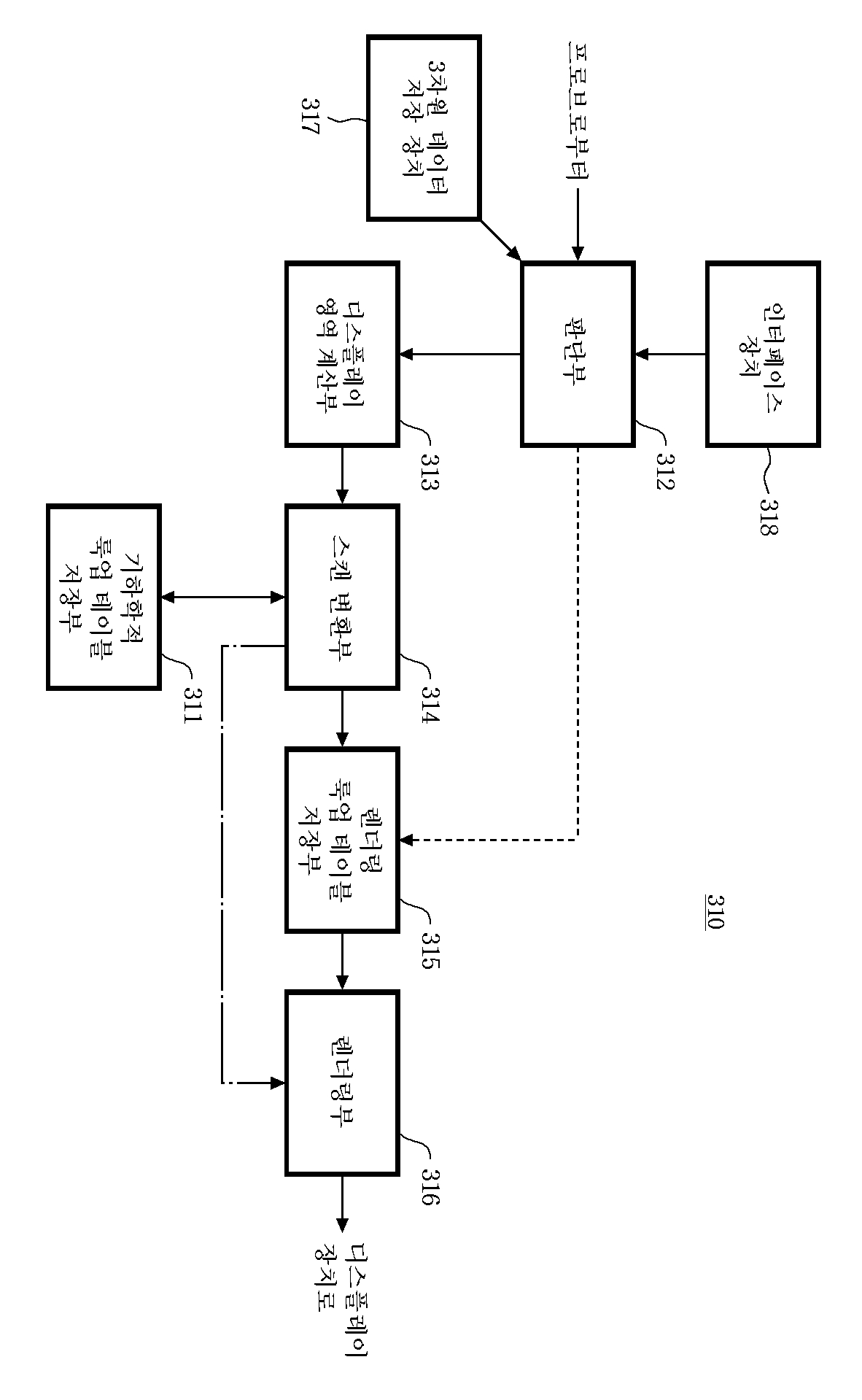
대상체의 3차원 초음파 데이터를 이용하여 그 단면을디스플레이하는 장치 및 방법
授权日:
1900-01-01
公开(公告)号:
KR1020050069878A
申请日:
2004-11-11
公开(公告)日:
2005-07-05
当前申请(专利权)人:
삼성메디슨 주식회사
发明人:
KWON,EUICHUL
简单同族:
CN100459940C | CN1636521A | DE602004026150D1 | DE602004031392D1 | EP1550883A2 | EP1550883A3 | EP1550883B1 | EP2180340A1 | EP2180340B1 | JP2005193021A | JP4659446B2 | KR100751852B1 | KR1020050069878A | US20050187474A1 | US7803112
简单同族成员数量:
15
简单同族被引用专利总数:
54
诉讼案件数:
0
法律状态/事件:
授权