首页
专利数据库
产业人才
行业动态
产业政策法规
维权援助
个人中心
登录/注册
详情
文本
图像
标题:
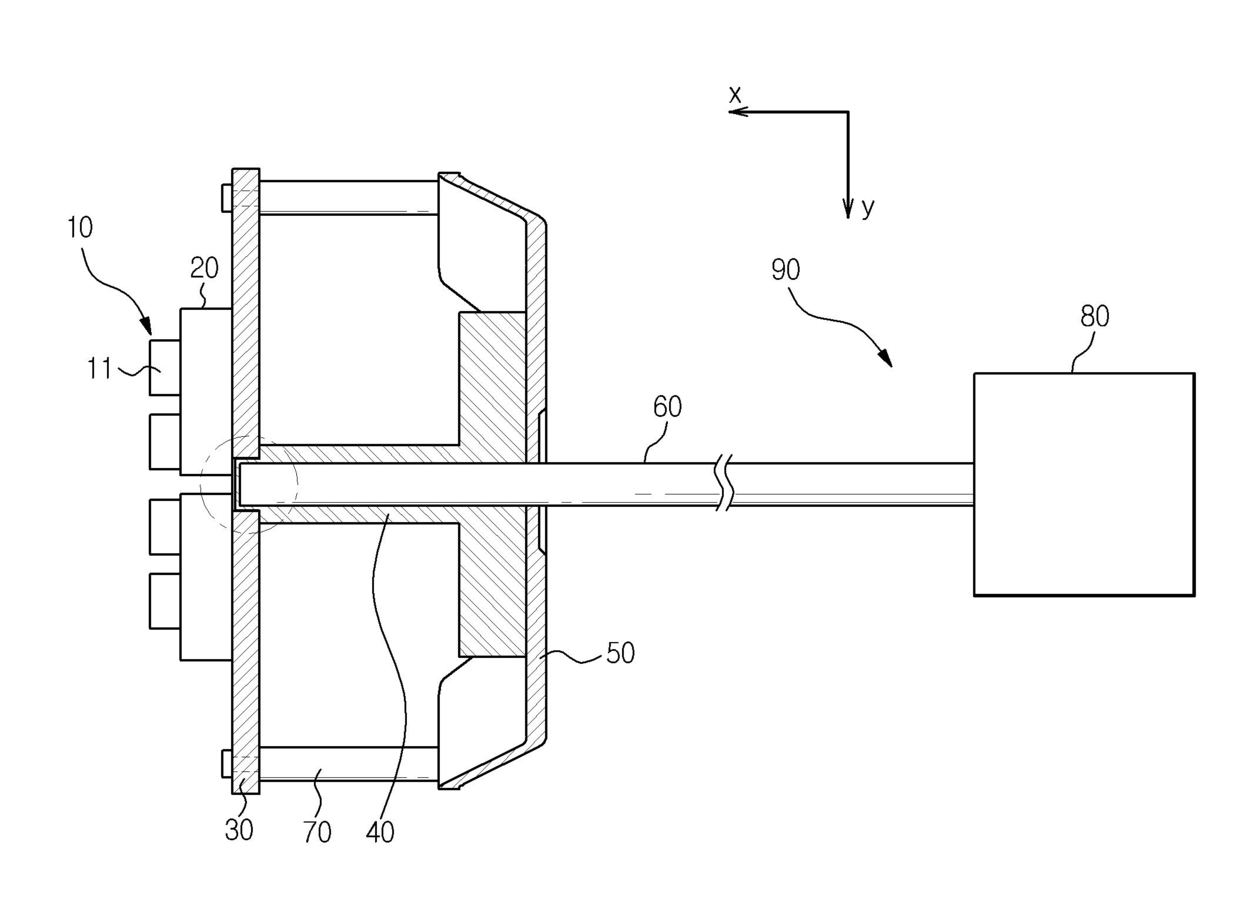
초음파 프로브
授权日:
1900-01-01
公开(公告)号:
KR1020130122202A
申请日:
2012-04-30
公开(公告)日:
2013-11-07
当前申请(专利权)人:
삼성전자주식회사
发明人:
조경일 | 이승헌 | 김배형 | 김영일 | 송종근
简单同族:
CN103371851A | EP2660591A1 | EP2660591B1 | KR101330733B1 | KR1020130122202A | US20130286593A1 | US8974393
简单同族成员数量:
7
简单同族被引用专利总数:
21
诉讼案件数:
0
法律状态/事件:
授权