首页
专利数据库
产业人才
行业动态
产业政策法规
维权援助
个人中心
登录/注册
详情
文本
图像
标题:
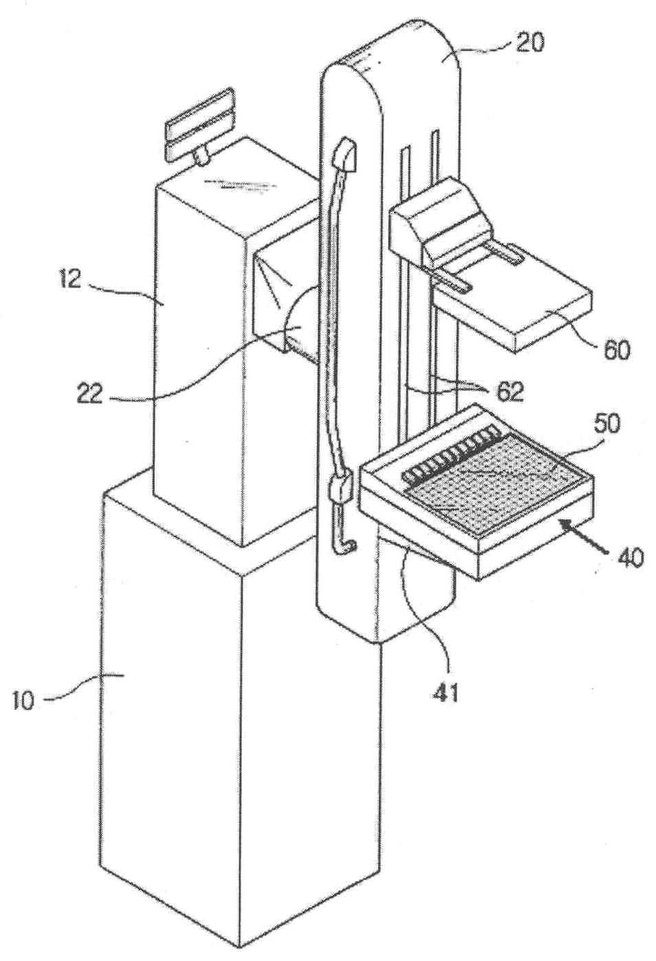
변형가능한 물체의 초음파 검사장치
授权日:
2007-01-08
公开(公告)号:
KR100668766B1
申请日:
2004-01-17
公开(公告)日:
2007-01-12
当前申请(专利权)人:
박희붕
发明人:
PARK,HEE BOONG
简单同族:
CN100444802C | CN1722984A | EP1587423A1 | EP1587423A4 | EP1587423B1 | JP2006513015A | JP2009148587A | JP4295283B2 | JP4767330B2 | KR100668766B1 | KR1020050072489A | US20060084868A1 | US7963918 | WO2004064644A1
简单同族成员数量:
14
简单同族被引用专利总数:
23
诉讼案件数:
0
法律状态/事件:
授权 | 权利转移