标题:
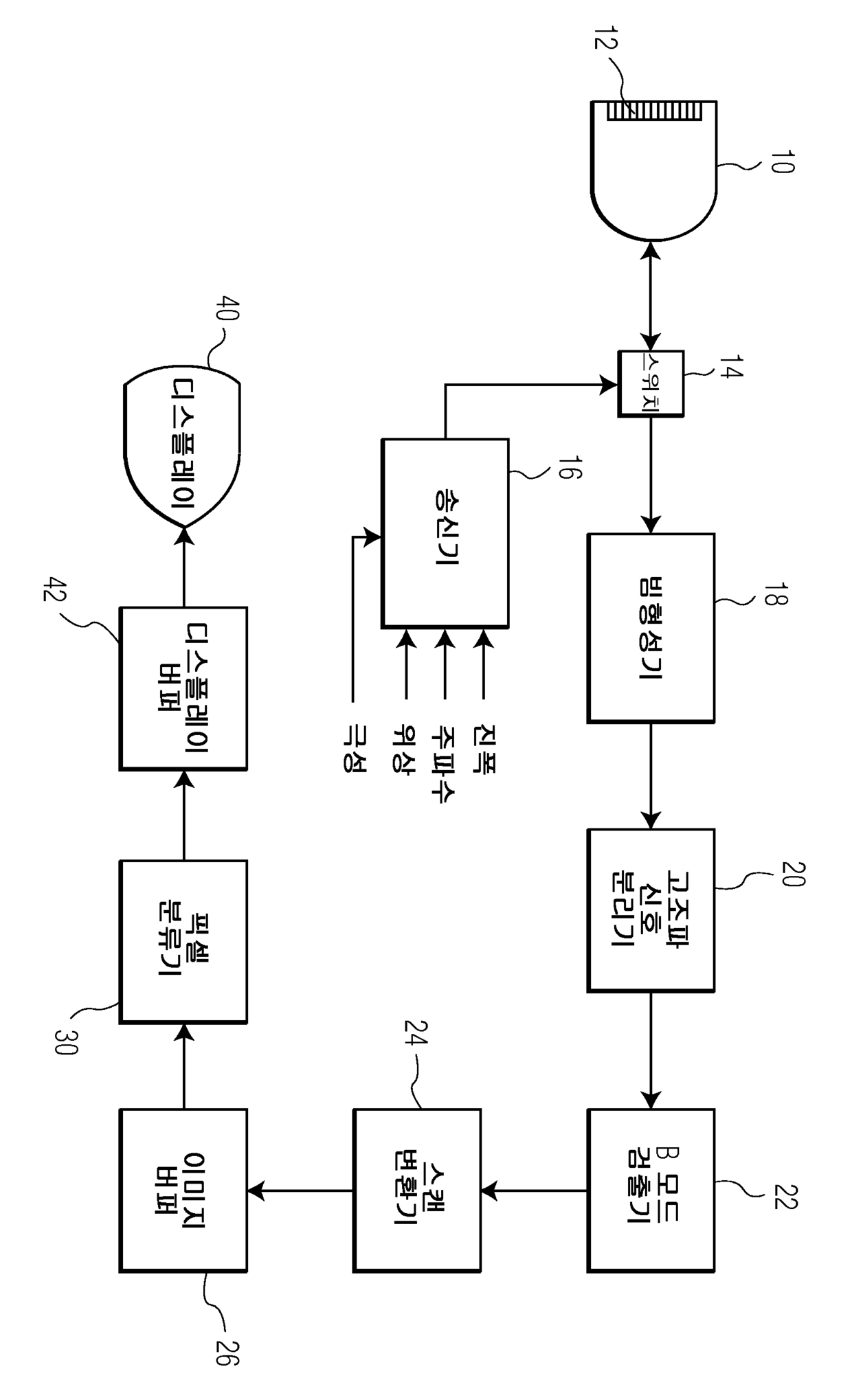
초음파 진단 이미징 시스템과 간의 손상을 검출하기 위한방법
授权日:
1900-01-01
公开(公告)号:
KR1020070110855A
申请日:
2006-02-16
公开(公告)日:
2007-11-20
当前申请(专利权)人:
코닌클리케 필립스 엔.브이.
发明人:
브루스,매튜 | 파워즈,제프리 | 가르지,로히트 | 스키바,단 | 아버키오우,미칼라키스
简单同族:
CN101128154A | CN101128154B | EP1855596A2 | EP1855596B1 | JP2008531082A | JP5150267B2 | KR1020070110855A | US20090124907A1 | WO2006090309A2 | WO2006090309A3
简单同族成员数量:
10
简单同族被引用专利总数:
87
诉讼案件数:
0
法律状态/事件:
撤回