首页
专利数据库
产业人才
行业动态
产业政策法规
维权援助
个人中心
登录/注册
详情
文本
图像
标题:
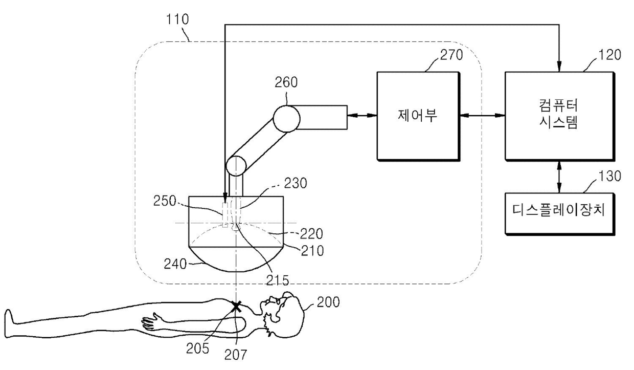
발명의 명칭 초음파 치료 방법 및 초음파 치료 시스템
授权日:
1900-01-01
公开(公告)号:
KR1020140095848A
申请日:
2013-01-25
公开(公告)日:
2014-08-04
当前申请(专利权)人:
삼성전자주식회사
发明人:
서준호 | 방원철
简单同族:
KR1020140095848A | US20140213903A1
简单同族成员数量:
2
简单同族被引用专利总数:
0
诉讼案件数:
0
法律状态/事件:
撤回