首页
专利数据库
产业人才
行业动态
产业政策法规
维权援助
个人中心
登录/注册
详情
文本
图像
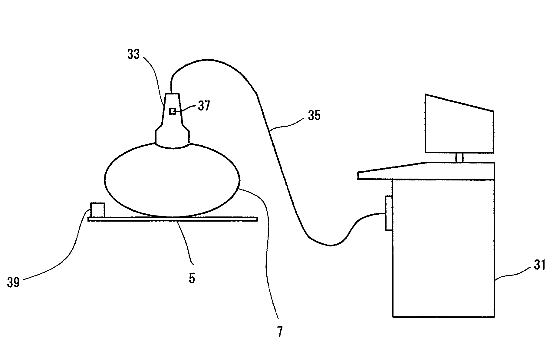
标题:
초음파 촬영 장치
授权日:
1900-01-01
公开(公告)号:
KR1020030084774A
申请日:
2003-04-25
公开(公告)日:
2003-11-01
当前申请(专利权)人:
지이 메디컬 시스템즈 글로발 테크놀러지 캄파니 엘엘씨
发明人:
HASHIMOTO,HIROSHI
简单同族:
CN1305443C | CN1452940A | DE10318617A1 | JP2003319939A | KR100718403B1 | KR1020030084774A | US20030204139A1 | US6860853
简单同族成员数量:
8
简单同族被引用专利总数:
49
诉讼案件数:
0
法律状态/事件:
未缴年费 | 异议