首页
专利数据库
产业人才
行业动态
产业政策法规
维权援助
个人中心
登录/注册
详情
文本
图像
标题:
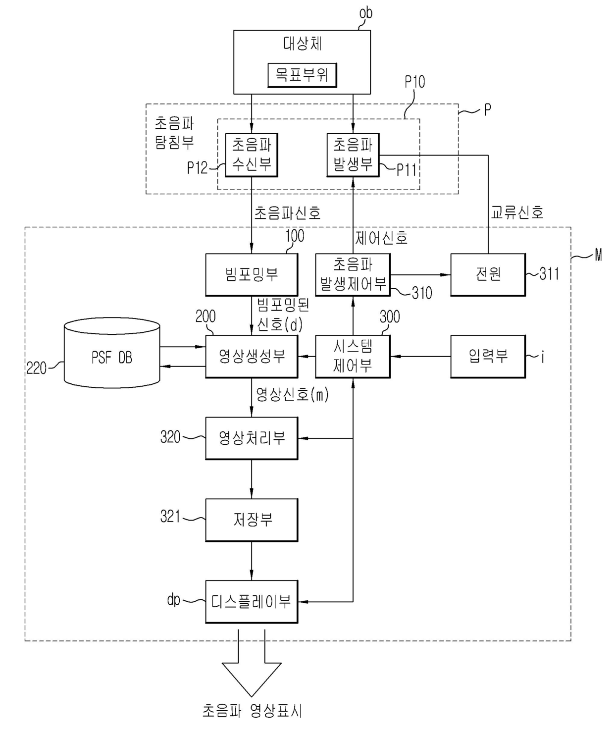
발명의 명칭 영상 처리 모듈, 상기 영상 처리 모듈을 이용한 초음파 영상 장치 및 상기 초음파 영상 장치
授权日:
1900-01-01
公开(公告)号:
KR1020140016153A
申请日:
2013-06-03
公开(公告)日:
2014-02-07
当前申请(专利权)人:
삼성전자주식회사
发明人:
강주영 | 박성찬 | 김규홍 | 김정호
简单同族:
KR1020140016153A | KR102091536B1
简单同族成员数量:
2
简单同族被引用专利总数:
0
诉讼案件数:
0
法律状态/事件:
授权