首页
专利数据库
产业人才
行业动态
产业政策法规
维权援助
个人中心
登录/注册
详情
文本
图像
标题:
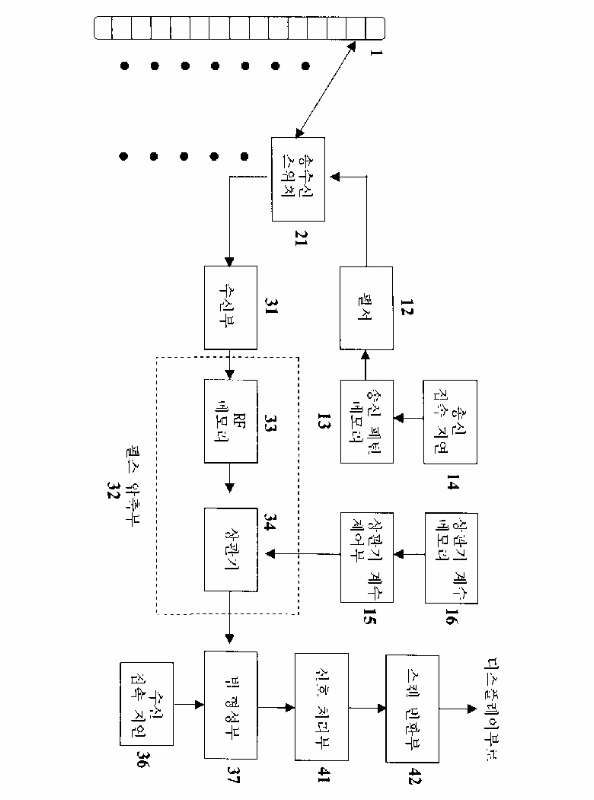
확산 대역 신호를 이용한 펄스 압축 방식에 기초한 초음파영상 형성 방법 및 장치
授权日:
2002-08-12
公开(公告)号:
KR100350026B1
申请日:
2000-06-17
公开(公告)日:
2002-08-24
当前申请(专利权)人:
삼성메디슨 주식회사
发明人:
송태경 | 유양모
简单同族:
DE60118837D1 | DE60118837T2 | EP1164385A2 | EP1164385A3 | EP1164385B1 | JP2002045359A | KR100350026B1 | KR1020010113215A | US20020005071A1 | US6622560
简单同族成员数量:
10
简单同族被引用专利总数:
64
诉讼案件数:
0
法律状态/事件:
期限届满 | 权利转移