首页
专利数据库
产业人才
行业动态
产业政策法规
维权援助
个人中心
登录/注册
详情
文本
图像
标题:
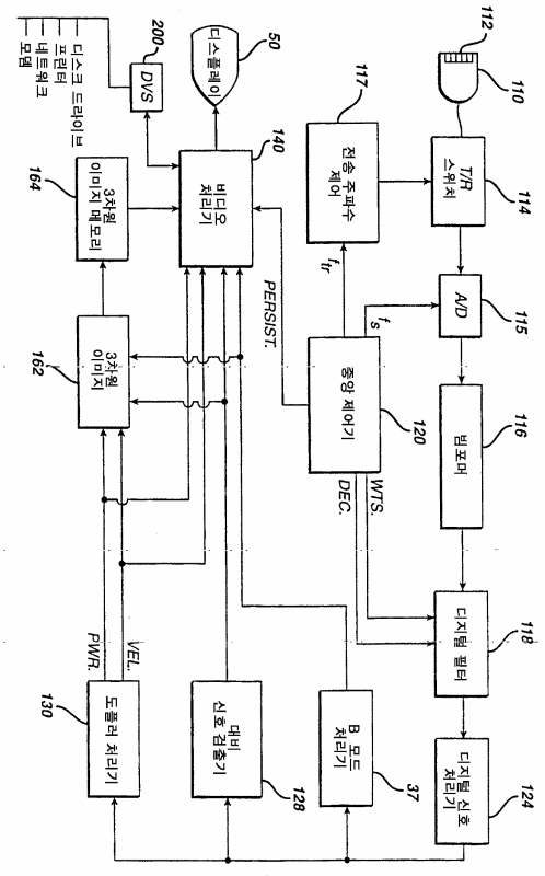
디지털 비디오 이미지 마킹을 구비한 초음파 진단 이미징시스템
授权日:
1900-01-01
公开(公告)号:
KR1020010071213A
申请日:
2000-02-14
公开(公告)日:
2001-07-28
当前申请(专利权)人:
코닌클리케 필립스 엔.브이.
发明人:
밀러에드워드에이 | 존스필립브이 | 버튼제프리더블유
简单同族:
CN1296705A | EP1078535A1 | JP2002538864A | KR1020010071213A | US6231508 | WO2000054518A1
简单同族成员数量:
6
简单同族被引用专利总数:
56
诉讼案件数:
0
法律状态/事件:
撤回