首页
专利数据库
产业人才
行业动态
产业政策法规
维权援助
个人中心
登录/注册
详情
文本
图像
标题:
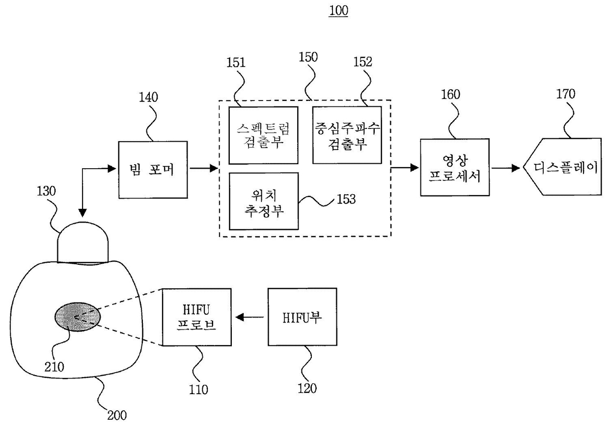
병변조직을 검출하는 초음파 진단 시스템
授权日:
2009-12-09
公开(公告)号:
KR100932472B1
申请日:
2005-12-28
公开(公告)日:
2009-12-18
当前申请(专利权)人:
삼성메디슨 주식회사
发明人:
정목근 | 권성재 | 윤라영
简单同族:
EP1803403A2 | EP1803403A3 | EP1803403B1 | JP2007181698A | KR100932472B1 | KR1020070069322A | US20070167774A1
简单同族成员数量:
7
简单同族被引用专利总数:
25
诉讼案件数:
0
法律状态/事件:
授权