首页
专利数据库
产业人才
行业动态
产业政策法规
维权援助
个人中心
登录/注册
详情
文本
图像
标题:
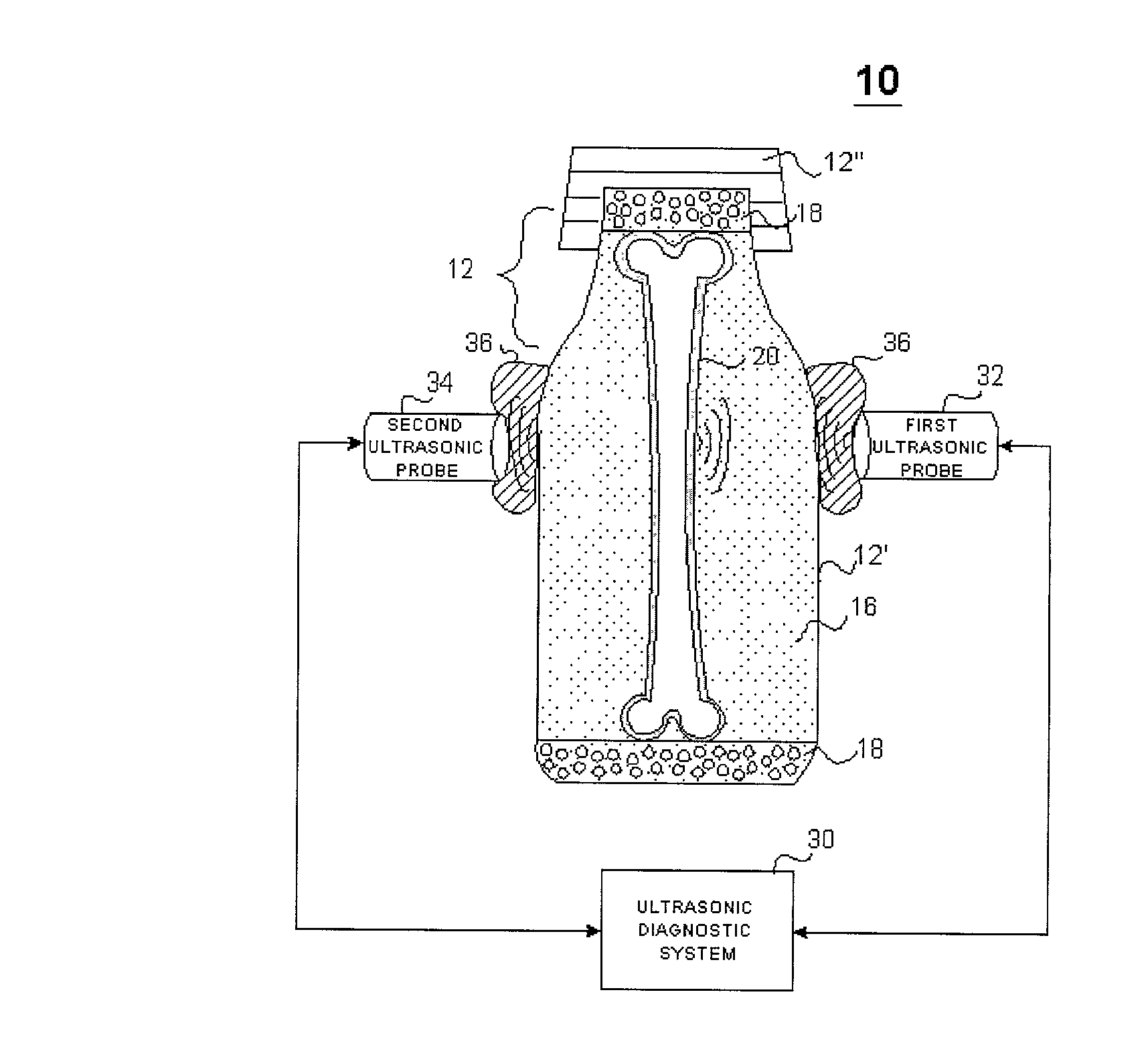
Ultrasound phantom simulating hard and soft tissue of a vertebrate and methods of production and use thereof
授权日:
1900-01-01
公开(公告)号:
US20020170339A1
申请日:
2001-05-16
公开(公告)日:
2002-11-21
当前申请(专利权)人:
MEDSON LTD.
发明人:
PASSI, GARRI | BEN-ARYE, ASAF | DOUVDEVANI, SHMUEL | EITAN, ALON
简单同族:
US20020170339A1
简单同族成员数量:
1
简单同族被引用专利总数:
22
诉讼案件数:
0
法律状态/事件:
撤回 | 权利转移