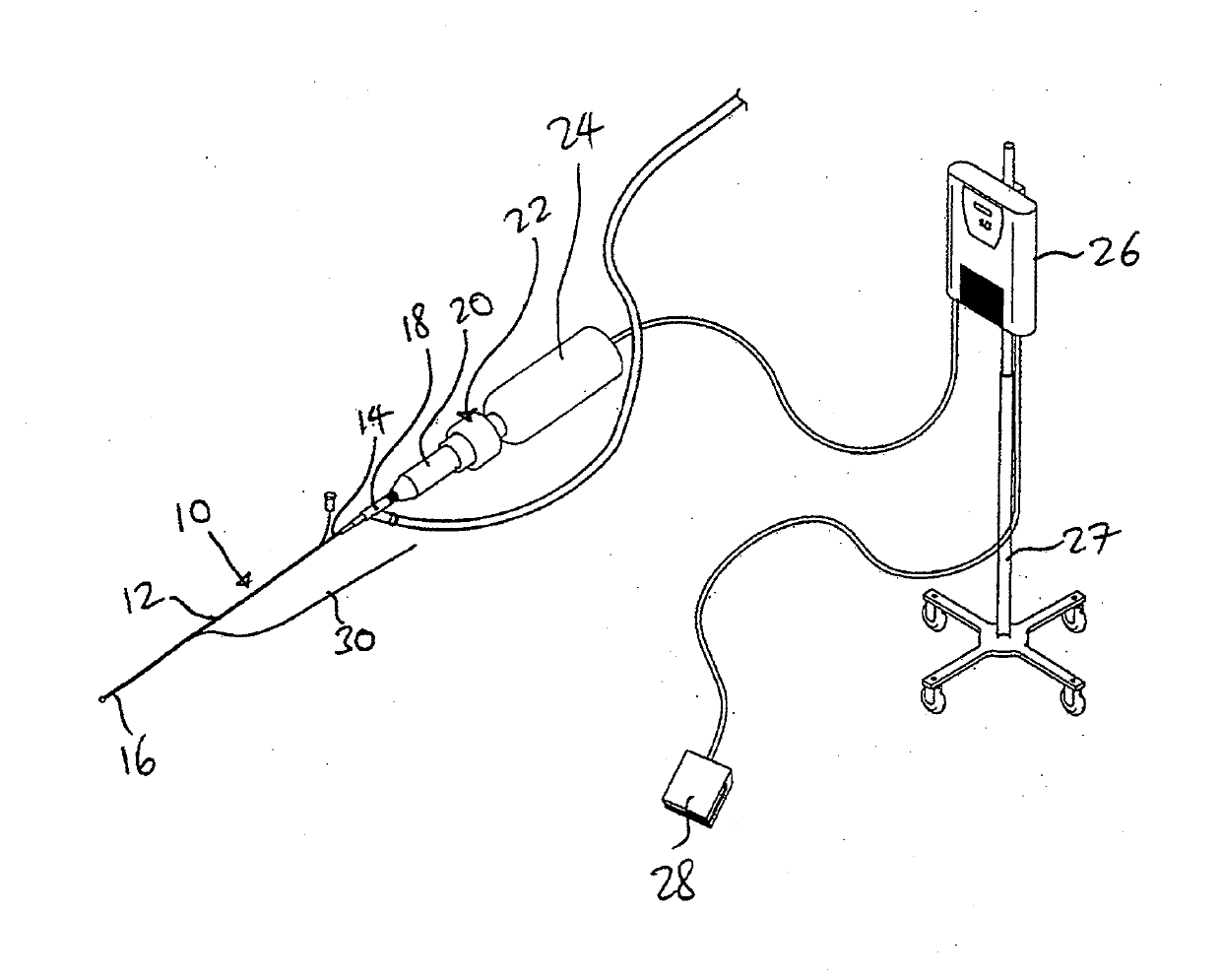
标题:
Connector for securing ultrasound catheter to transducer
授权日:
1900-01-01
公开(公告)号:
US20190282326A1
申请日:
2019-06-04
公开(公告)日:
2019-09-19
当前申请(专利权)人:
FLOWCARDIA, INC.
发明人:
NITA, HENRY | TRAN, MARTINOS
简单同族:
US10349964 | US20050283080A1 | US20100280389A1 | US20140148833A1 | US20160367284A1 | US20190282326A1 | US7758510 | US8641630 | US9433433
简单同族成员数量:
9
简单同族被引用专利总数:
81
诉讼案件数:
0
法律状态/事件:
公开